EasyManua.ls Logo

Ridder RB50EPLUS - Application

Ridder RB50EPLUS
36 pages
Print Icon
To Next Page IconTo Next Page
To Next Page IconTo Next Page
To Previous Page IconTo Previous Page
To Previous Page IconTo Previous Page
Loading...
3.2 Applicaon
The Ridder RB50Eᵖˡᵘˢ tube motors are designed to be used with roller-screen systems in
greenhouses and livestock houses. For other (dierent) applicaons approval from Ridder Drive
Systems is necessary.
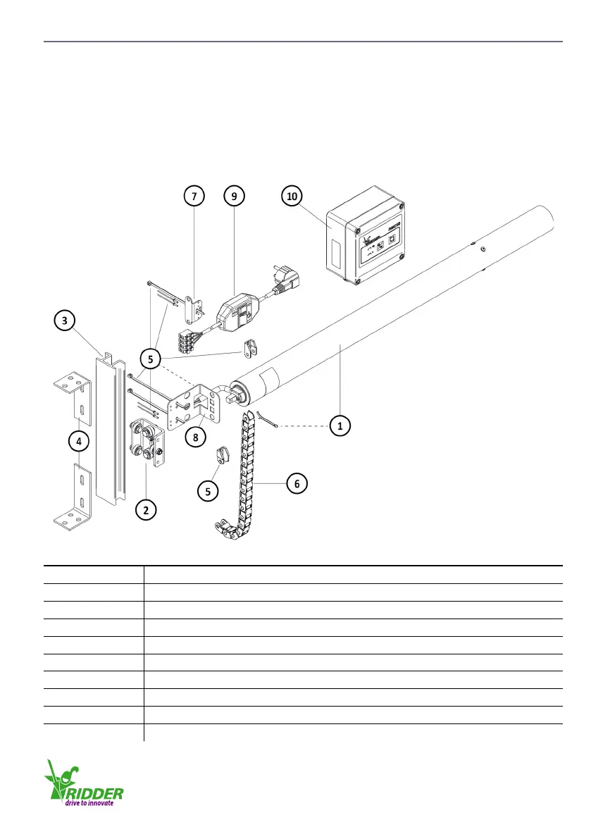
Components RB50Eᵖˡᵘˢ tube motors
To operate the roller-screen system more components are necessary to complete the drive
system. The illustraon and table that follow show an overview of the Ridder components that are
applicable to the RB50Eᵖˡᵘˢ tube motor.
Posion
Descripon
1
RB50Eᵖˡᵘˢ tube motor
2
Guiding unit
3
Guiding prole
4
Guiding-prole mounng-bracket
5
Cable-carrier mounng-set
6
Cable carrier
7
Cable-carrier mounng-bracket
8 (5)
Cable-carrier bracket
9
Adjusng switch
10
RMC50 Motor control unit
Ridder Drive Systems
T +31 (0)341 416 854 F +31 (0)341 416 611 I www.ridder.com
7

Related product manuals