EasyManua.ls Logo

Satel EASy+ - Wiring; RS-232 Wiring - Port1 Without Handshaking; RS-232 Wiring - Port1 and Handshaking Signals Connected

Satel EASy+
92 pages
Print Icon
To Next Page IconTo Next Page
To Next Page IconTo Next Page
To Previous Page IconTo Previous Page
To Previous Page IconTo Previous Page
Loading...
SATEL-EASy+
User guide
Version 1.33
77
16.2 Wiring
NOTE!
When installing the cables of the serial interface, it is recommended to switch off operating
voltage of all devices is off (POWER OFF condition).
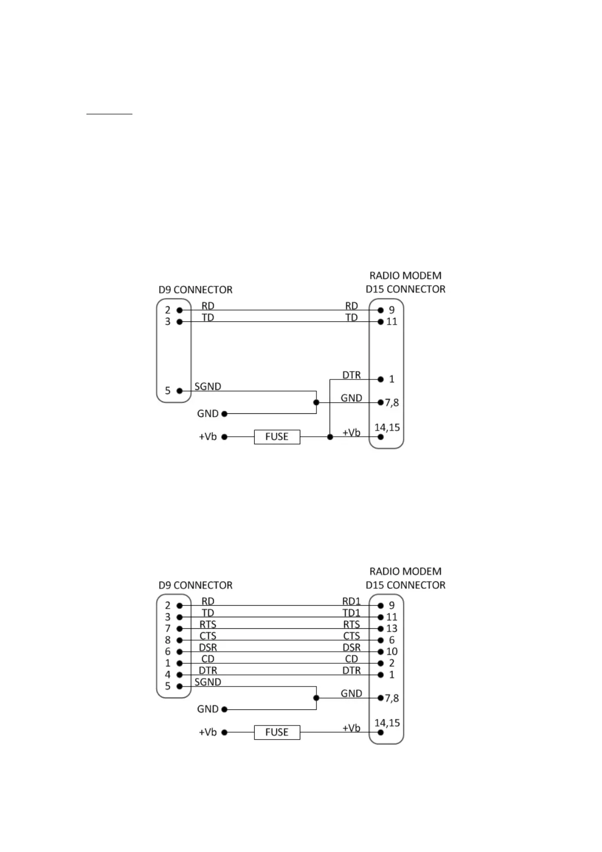
16.2.1 RS-232 wiring - Port1 without handshaking
The simplest connection to PC serial port (RS-232) is depicted in the schematic below.
Note: DTR is not needed to be connected
FUSE = 2 A slow
16.2.2 RS-232 wiring - Port1 and handshaking signals connected
A typical connection between the Port 1 of the radio modem and the PC serial port (RS-232)
using the handshaking signals is depicted in the schematic below.
FUSE = 2 A slow

Table of Contents

Related product manuals