EasyManua.ls Logo

Seeburg LS 1 - 5. SELECTION SYSTEM

Seeburg LS 1
126 pages
Print Icon
To Next Page IconTo Next Page
To Next Page IconTo Next Page
To Previous Page IconTo Previous Page
To Previous Page IconTo Previous Page
Loading...
10-22
SERVICE MANUAL
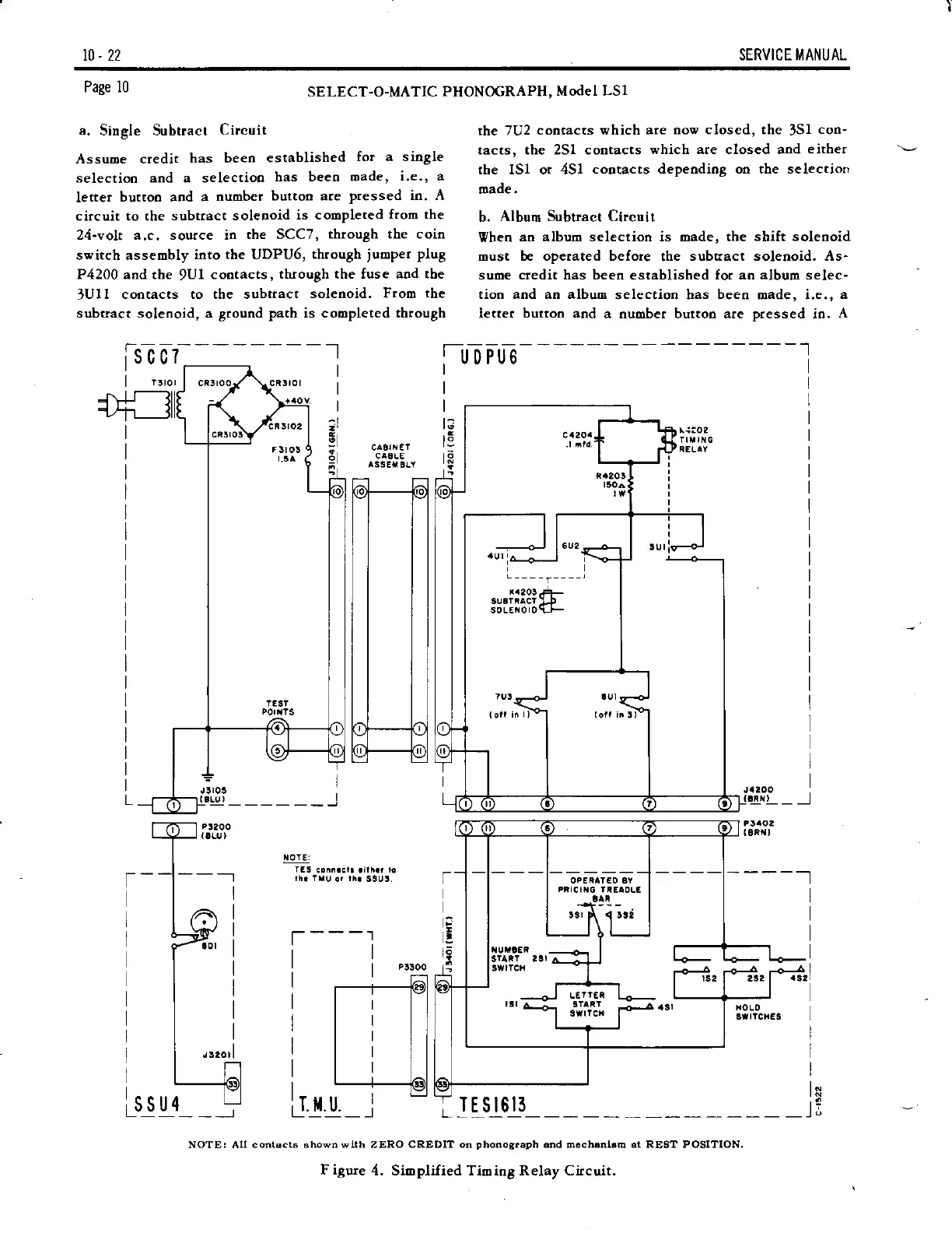
Assume credir
has been
established
for a single
selectioo and a selectioo
has beeo oade,
i'e., a
letter
buttoo aod a
number
button are
pressed in. A
circuit to the
subtract soleooid
is completed
ftom the
24-,t
ok
a,c. source in
the SCC7,
through the coin
switch assembly
into
the
UDPU6,
through
juoper
plug
P4200 aod tbe
9Ul
cootacts,
through the fuse aod the
lUll
contacts ao the subtract
solenoid. From
the
subract solenoid, a ground
path
is coopleted through
rhe 7U2
contacc which
are now closed, the
3S1
con-
tacts, the 2S1 cootacts
which are closed aod
either
the lSl or 4Sl
cootacts depending on the selectiol
oade.
b.
Album Subract Circuit
Wheo
an albuo selection is oade, the
shift soleooid
oust
be
operated before
the
subtact solenoid. As-
suoe credit has been
established
for ao album selec-
tion and an album
selection has
beeo
made, i,e.,
a
letter
button aad
a number buttoo are
pressed
io. A
rulruo
Page 10
a.
Single Subtract
Circuit
alrJ )
SELECT-O-MATIC
PHONOGRAPH,
Model LS1
-l
Fc
lr
c7
rl
-':\--'t
P!200
L--\:z-l rlur
r--l--r
l ,a, l
lryi
ili
I I ."ro,l
i
L--5
issu+ ?
T
---t
I
I
LI.!.u. l
I
I
I
lJ
NOTE, All
contacts shown wlth zERO CREDIT on
phonog.aph
and mechanbn at REST POSITION.
srJari^cr)-b
F igure
4. Sioplified Tioiog Relay Circuit.

Table of Contents

Related product manuals