EasyManua.ls Logo

Seeburg LS 1 - SELECT-O-MATIC MECHANISM ADJUSTMENTS; TRIP SOLENOID - TRIP SOLENOID POSITION

Seeburg LS 1
126 pages
Print Icon
To Next Page IconTo Next Page
To Next Page IconTo Next Page
To Previous Page IconTo Previous Page
To Previous Page IconTo Previous Page
Loading...
10. 22
SERVICE MANUAL
Page 16
SE
LECT-O-MATIC
PHONOGRAPH,
Model
LS1
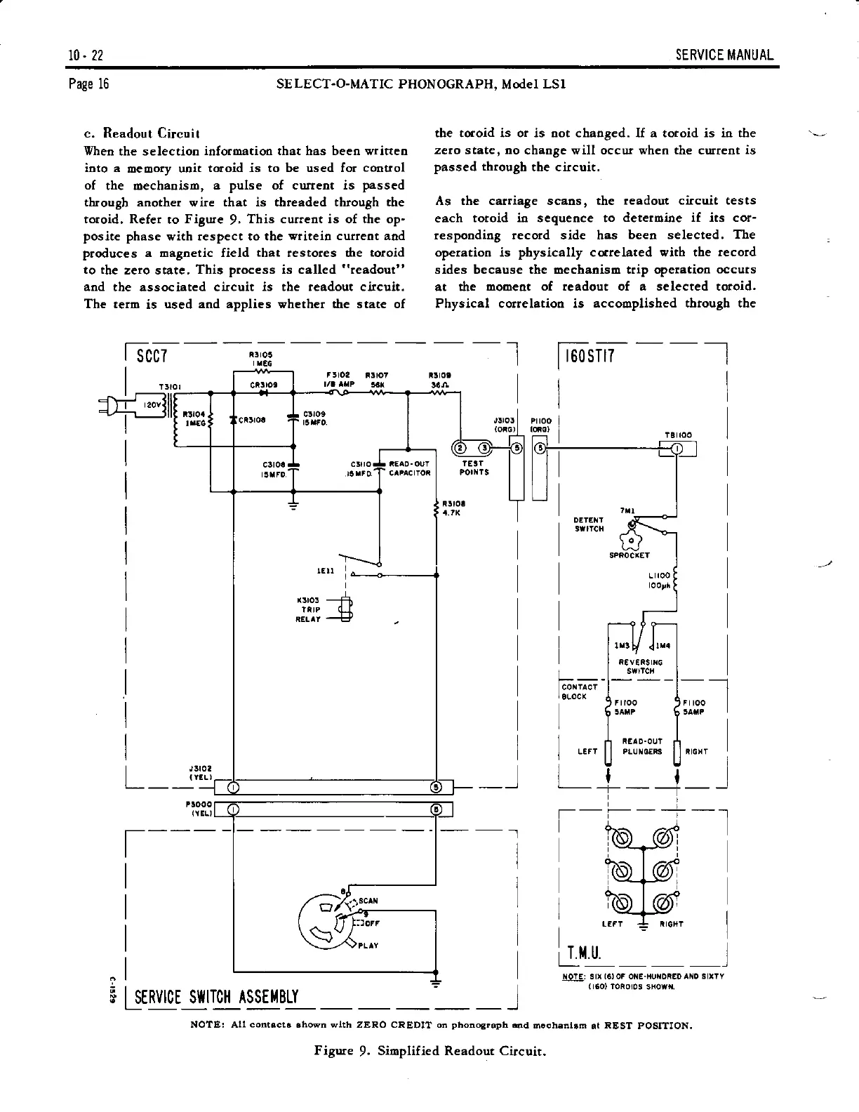
c. Readout Circuit
Vhen
the selection
inforoatioo that has beeo written
ioto a
oeoory unit
toroid is to be used for
coouol
of
the oechaoiso,
a pulse of cuttent is
passed
through another wire that is threaded through the
totoid. Refer
to
Figule
9.
This current is of the op-
posite phase
with respect to the
vritei! curreot and
produces
a Eagnetic field
that
restores d,e
toroid
to the
zero state,
This process is called
"readout"
and
the associated circuit
is the readout circuit.
The term
is
used and applies whether dre state of
the toroid is or .is not chaoged. If a totoid is in the
zero state, no
chaoge will occur when the curreot
is
passed thtough
the circuit.
As the carriage scaos, the
readout c.ircuit tests
each
totoid io scquence to
determine if its cor-
respoodiog record side has
been selected. The
opelatioo is
physically
ccrelated with the
record
sides because the Eechaniso trip operatioo
occuts
at the
mooeot of teadout of a selected toroid.
Physical correlatioo is accomplished
through the
Tr7
i!roa
lmol
Jllol
Jlr0a
{rfr-)
I
unvqr rqrUn
rssllBtY
___ __]
(tEL)
fr'L---l
IqlE:
srx 16,oF otE-xur{oiEoANo
srrrY
(160,
Toioros sHo{x.
NOTE: AU
contsctr
.hown wtth ZERO CREDIT on
phonogr.ph.nil
doch.nt.m
at
REST
POSITION.
Figure
!.
Sioplified Readout Circuit.
t*t

Table of Contents

Related product manuals