EasyManua.ls Logo

Seeburg LS 1 - GUIDE ROLLERS - CARRIAGE GUIDE ROLLER ADJUSTMENTS

Seeburg LS 1
126 pages
Print Icon
To Next Page IconTo Next Page
To Next Page IconTo Next Page
To Previous Page IconTo Previous Page
To Previous Page IconTo Previous Page
Loading...
t0.
22
SERVICE MANUAL
Page
18
SELECT-O-MATIC
PHONOGRAPH,
Model LSI
NOTE: Alt
coot.ct. .hown
wtth ZERO CREDIT on
phonostaph
ed m€chanlth
at REST
POSITION.
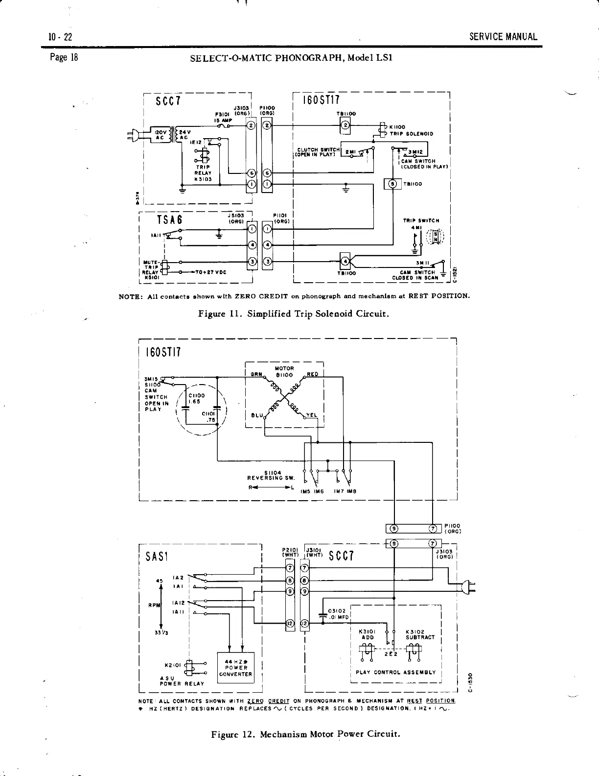
Figure 11. Sioplified Trip Soleooid Circuit.
f
srsr
--l
ffi,lsrii',%
sccJ
_,__________J-1?
t-q-
.l
?
?
I
I
.-
rA2
x-
----------l-------.]^l
t{-L-l
I
'^r
L{..-
r Xi XI_L__
Fpul
,^,,\<1--E
llf----=llf---
|
,A,,
.--:-
I I | |
-l-".,0,
i---_l---
-
I
"
"_*l
I
L--h
6l
t:;;;"i
, |
|
I
!rr!
I I
x.ror
{l
x3ro2
I
I ! |
ADo
ll
suB?h^cr
'
#[
.].!,f+-
i
I
"..o'
ft-. ;:;:i I
I
I
^.;
tl-
"J,i,:;:"
i
I
j.l-T":^:.,".._
,
L
*-
' ^'
-
l L----------- l
I
r{oTE
^LL
COTTACTS
SHOWN
rxrTH
4EEA
S-EEDI-I
ON PHONOGRTPH
a rECs^iISX lr
EllI
POSTTTOi{.
+ ItZ(HERIZ) 0ESIGtrATlOra
f,EPLACES,v(CYCLES PER SECOND) DESl6rl^llOIl. lHZ.r,U.
IrsostT-
r
rtr2
iX
I:H
I
xrror
Figure
12. Mechaoiso
Motor
Power Circuit,

Table of Contents

Related product manuals