EasyManua.ls Logo

Seeburg LS 1 - TRANSFER ARM 2 - PLAY POSITION CLEARANCE

Seeburg LS 1
126 pages
Print Icon
To Next Page IconTo Next Page
To Next Page IconTo Next Page
To Previous Page IconTo Previous Page
To Previous Page IconTo Previous Page
Loading...
10.22
SERVICE
IUANUAL
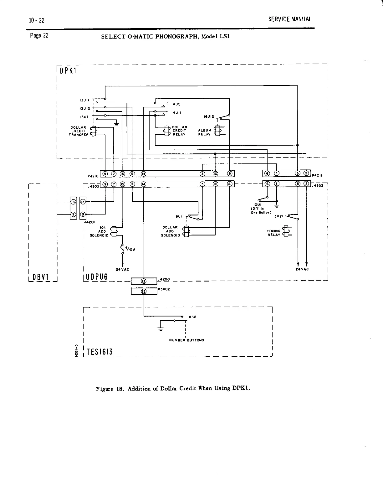
PaEe 22
SELECT-GMATIC
PHONOGRAPH, Model
LSI
I
I
l
l
l
l
Pl(I
r-D
I
L
t!LJ t2
r3lI
A_
ciEorr
^LBUM
l-D
RELAY ftELAY
q
I--
T--
toC
SoLEr{Or0
BVI
LD
L!D!u6__ a299 _ _
Figue
18.
Addition of
Dollar Credit
When Usiog
DPKl.
lrLSLqrl

Table of Contents

Related product manuals