EasyManua.ls Logo

Seeburg LS 1 - Page 88

Seeburg LS 1
126 pages
Print Icon
To Next Page IconTo Next Page
To Next Page IconTo Next Page
To Previous Page IconTo Previous Page
To Previous Page IconTo Previous Page
Loading...
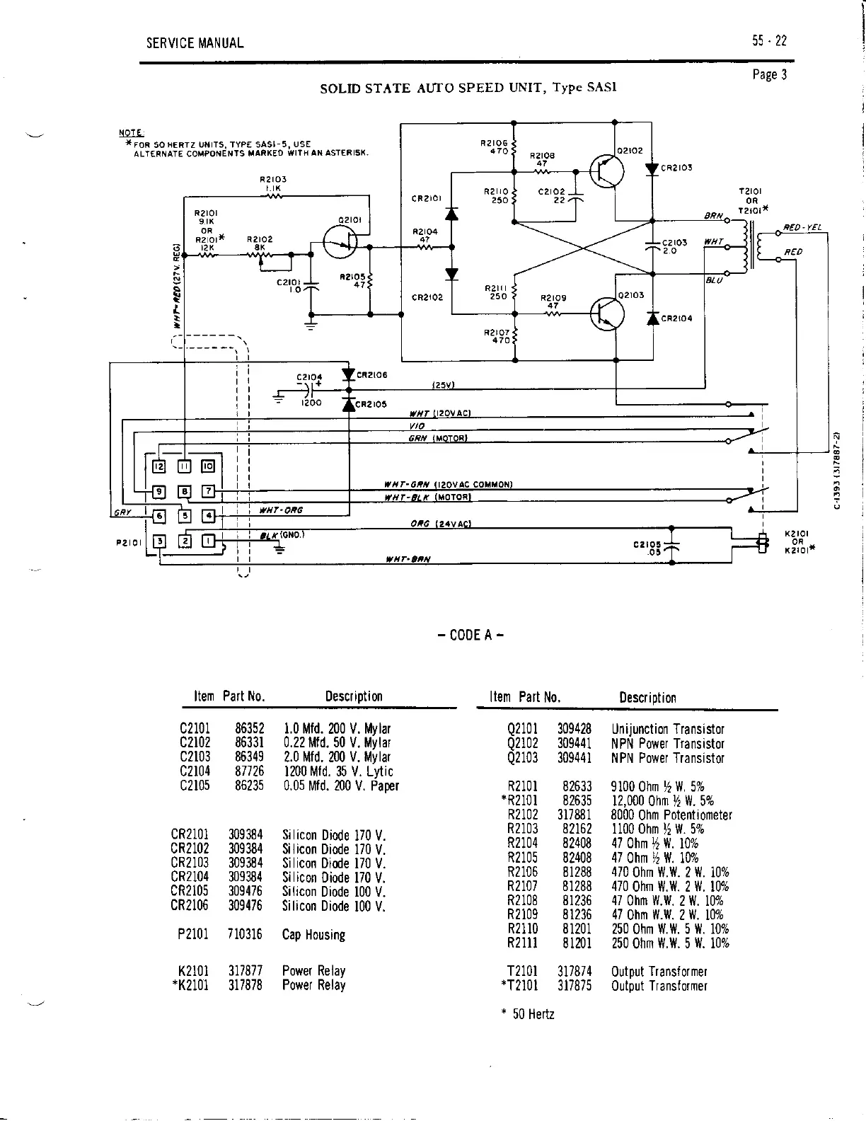
SERVICE MANUAL
\\-77
Page
3
{sE
*FoR
50H€Rrz
u rrs. TypE sast-5,
usE
AL-I6RNATE COMPOI{EN'9 MAAKEO
WITH AN ASTERISX,
R2rO3
Item Part No.
t
a
SOLID
STATE
AIJTO SPEED
UNIT,
TYPC SASI
-CODEA-
Description
Item Part
No.
Description
ci2ror
c210r 86352
c2102 85331
c2103 86349
c2104 8n26
c2105 86235
cR2101
309384
cR2102 309384
cR2103 309384
cR2104 309384
cR2105 309476
cR2106
309476
P210t
710316
K2l0l
311817
*K2101
317878
I.0 Mfd. 200 V. l\,lvlar
0.22 Mfd. 50 V. Milar
2.0 Mfd. 200
V.
Mylar
1200 Mfd. 35 V. Lytic
0.05 l\rlfd. 200 V. Paper
Silicon
Diode
170 V.
Silicon
Diode 170
V.
Silicon Dide
170 V.
Silicon Diode
170 V.
Silicon
Diode 100 V.
Silicon Diode
100 V.
Cap Housing
R2l0l 82633
-R2l0l
82635
R2102
317881
R2103
82162
R2104
82408
R2105 82408
R2106 81288
R2107 81288
R2108 81235
R2109
81236
R2110
81201
R21ll
81201
T2101
317874
*T2t0l
317875
*
50 Hertz
[Jni]unction Transistor
NPN
Power
Transistor
NPN Powet Transistor
9100 Ohm
'/z
W, 57"
12,000 Ohm
/z
W. 57,
8000
0hm
Potentiometer
ll00 Ohm
11
11. 57,
47 Ohm
lze
W.
107,
47
Ohm lz l]l/. \ffi
470
Ohm Yi.W. 2 W. i07,
470
Ohm W.W. 2 W. 107,
47
ohm
lll.\'l.
2 vll. l0%
47
ohm
llJ.yl.
2
Yll.
107,
250
Ohm
W.W. 5ll, 107,
250 Ohm \t.W. 5 W. 107,
0utput
Transformer
0utput
Transfdmer
Q2101
309428
Q2102
309441
Q2103
309441
Power Relay
Power Relay

Table of Contents

Related product manuals