EasyManua.ls Logo

Selco NEOMIG 2000 - 3 Præsentation Af Svejsemaskinen; Almene Oplysninger; Det Frontale Betjeningspanel STANDARD

Default Icon
Print Icon
To Next Page IconTo Next Page
To Next Page IconTo Next Page
To Previous Page IconTo Previous Page
To Previous Page IconTo Previous Page
Loading...
3 PRÆSENTATION AF SVEJSEMASKINEN
3.1 Almene oplysninger
De semiautomatiske anlæg på serien NEOMIG til MIG-/MAG-
svejsning med kontinuerlig tråd, sikrer høje præstationer og kva-
litet under svejsning med fyldte tråde samt tråde med væge.
Serien NEOMIG er kendetegnet af det faktum, at
tilstedeværelsen af trækket internt i kassen, har gjort det muligt
at fremstille ”kompakte” strømkilder med begrænsede
dimensioner, der er lette at flytte.
Strømkilderne NEOMIG er i stand til at opfylde alle svejsekrav.
Strømkildens statiske karakteristika er den konstante spænding
med trinvis regulering af svejsespændingen; de forskellige
valgbare induktansudgange, giver operatøren mulighed for at
indstille optimal dynamik for strømkilden ved svejsning.
Der er to forskellige, disponible versioner:
Versionen STANDARD:
trådens tilførselshastighed kan reguleres direkte fra frontpanelet,
ved hjælp af potensering.
Versionen XP:
disse svejsestrømkilder udgør en innovativ udformning af drift-
stilstanden "SYNERGI".
Synergi-funktionen aktiveres ved indstilling af den materialetype
der skal svejses og af diameteren på den anvendte tråd og giver
mulighed for en automatisk forindstilling af trådhastigheden,
hvilket reelt forenkler anlægsreguleringerne under svejsningen.
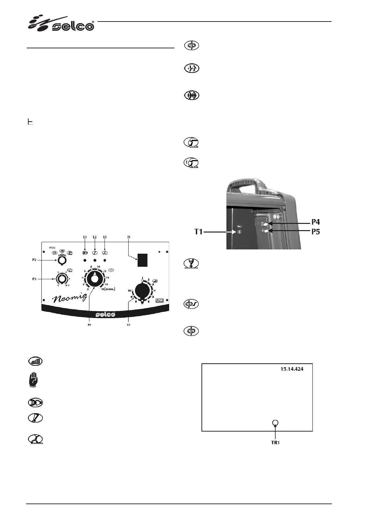
3.2 Det frontale betjeningspanel STANDARD
Fig.3 NEOMIG STANDARD
Omlægger I1: hovedomlægger til tænding (pos. 0 = slukket
strømkilde).
Omskifter l2: omskifter til finindstilling med 7/10 posi-
tioner.
Omskifteren må aldrig indstilles, mens man svejser!
L1: lyser op når strømkilden forsynes.
L2: tilkendegiver et eventuelt indgreb af beskyt-
telsesanordninger, såsom den termiske beskyt-
telsesanordning.
L3: lyser op når der findes udgangsspænding til svejse-
maskinen.
P1: potentiometer til justering af trådhastigheden.
Minimum 0 m/min, Maximum 18 m/min
P2: svejsetilstand.
2 Trin : ved to trin medfører tryk på knappen, at gassen
strømmer, spændingen aktiveres på tråden, og får den
til at køre frem; ved frigivelse af gassen, afbrydes
spændingen og trådfremførslen.
4 Trin : ved 4 trin medfører første tryk på knappen
gasstrømning med manuelt pre-gas; når knappen
slippes aktiveres spændingen på tråden og fremførsel af
samme. Efterfølgende tryk på knappen medfører blok-
ering af tråden og starter den afsluttende proces, der
bringer strømmen ned på nul; definitivt slip af knappen
afbryder gasstrømningen.
Punktsvejsning: giver mulighed for afvikling af tidsind-
stillet svejsning.
P3: punktsvejsningstidsrum.
Giver mulighed for at justere svejsetidsrummet.
Minimum 0s, Maximum 10s
P4: burn back.
Giver mulighed for at regulere trådens brændevarighed,
hvorved tilklæbning ved svejsningens afslutning forebygges.
Giver mulighed for at regulere længden på brænderens udven-
dige stykke tråd.
Minimum 0s, Maximum 0.5s, Default 100ms
P5: motorrampe.
Giver mulighed for at indstille en blød overgang mel-
lem trådens hastighed ved tænding og under svejsning.
Minimum 0s, Maximum 2s, Default 250ms
T1: trådfremføring:
Giver mulighed for manuel fremføring af tråden, uden
gasstrøm og uden at tråden er under spænding.
Tillader indsætning af tråden i brænderbeklædningen under de
svejsningsforberedende faser.
TR1: Post gas.
Giver mulighed for at indstille og regulere gassens strømning ved
svejsningens afslutning.
Minimum 0s, Maximum 10s, Default 0s
104

Table of Contents

Related product manuals