EasyManua.ls Logo

Selco NEOMIG 2000 - 3 Apresentação da Máquina; Generalidades; Painel Comandos Frontal STANDARD

Default Icon
Print Icon
To Next Page IconTo Next Page
To Next Page IconTo Next Page
To Previous Page IconTo Previous Page
To Previous Page IconTo Previous Page
Loading...
3 APRESENTAÇÃO DA MÁQUINA
3.1 Generalidades
As instalações semiautomáticas da série NEOMIG para a soldadura
MIG/MAG de fio contínuo garantem elevados desempenhos e
qualidade na soldadura com fios cheios e fluxados.
A série NEOMIG caracteriza-se pela presença do suporte de arras-
tamento no interior da carroçaria, tendo assim consentido de pro-
duzir geradores “compactos” fáceis de transportar e de dimensões
reduzidas.
Os geradores NEOMIG podem satisfazer todas as exigências de sol-
dadura.
A característica estática do gerador é a tensão constante com
regulação por estágio da tensão de soldadura; as diferentes saídas
da indutância seleccionáveis consentem ao operador de definir a
dinâmica óptima do gerador para a soldadura.
Estão disponíveis duas diferentes versões:
Versão STANDARD:
a velocidade de alimentação do fio é regulável directamente do
painel frontal por meio do potenciómetro.
Versão XP:
estes geradores para a soldadura apresentam uma inovadora
modalidade de funcionamento "SINERGIA".
A habilitação da sinergia com a definição do tipo de material a sal-
dar e do diâmetro do fio utilizado consente uma predisposição
automática da velocidade do fio, simplificando de facto as opera-
ções de regulação em soldadura do sistema.
3.2 Painel comandos frontal STANDARD
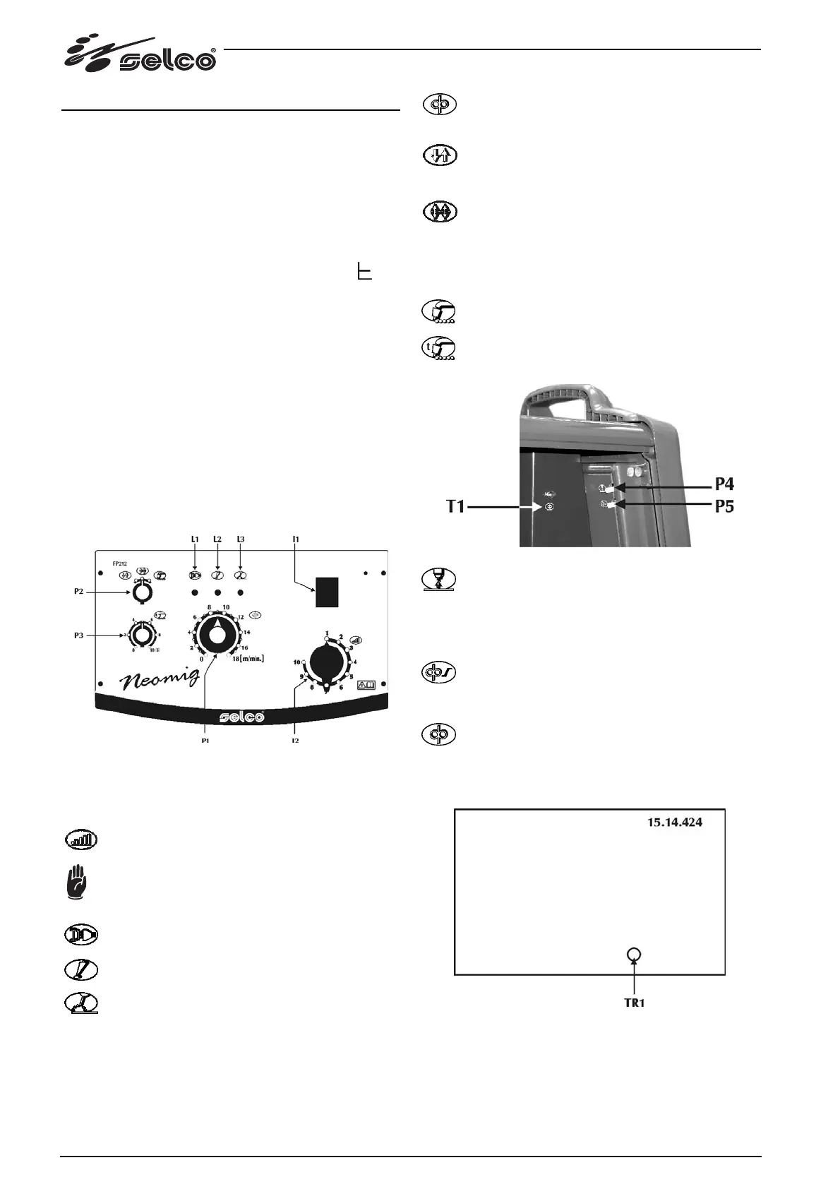
Fig.3 NEOMIG STANDARD
Interruptor I1: interruptor principal para ligação (pos. 0 =
gerador desligado).
Comutador l2: comutador para a regulação fina de
7/10 posições.
Nunca tocar no comutador, enquanto se está a sol-
dar!
L1: ilumina-se assim que o gerador é alimentado.
L2: indica a eventual activação dos dispositivos de pro-
tecção, tais como, a protecção térmica.
L3: ilumina-se quando é presente tensão de saída na
máquina de soldar.
P1: potenciómetro de regulação da velocidade do fio.
Mínimo 0 m/min, Máximo 18 m/min
P2: modalidade de soldagem.
2 Tempos: em dois tempos, a pressão do botão faz fluir
o gás, activa a tensão no fio, fazendo-o avançar; quan-
do se solta o botão, o gás, a tensão e o avanço do fio
são interrompidos.
4 Tempos: em quatro tempos, quando se aperta o botão
pela primeira vez, faz-se fluir o gás, efectuando-se uma
pré-vazão manual do gás; quando se solta o botão, acti-
va-se a tensão no fio e o seu avanço. A sucessiva pressão
do botão, bloqueia o fio e faz iniciar o processo final que
conduz à corrente a zero; soltando-se definitivamente o
botão, interrompe-se o fluxo do gás.
Soldagem por pontos: consente a execução de solda-
gens temporizadas.
P3: tempo de soldagem por pontos.
Permite a regulação do tempo de soldagem.
Mínimo 0s, Máximo 10s
P4: burn back.
Consente a regulação do tempo de queimadura do fio
impedindo a colagem no fim da soldadura.
Consente de regular o comprimento do pedaço de fio externo
à tocha.
Mínimo 0s, Máximo 0.5s, Default 100ms
P5: rampa motor.
Consente de definir uma passagem gradual entre a
velocidade do fio de inflamação e a de soldadura.
Mínimo 0s, Máximo 2s, Default 250ms
T1: avanço do fio.
Permite o avanço manual do fio sem fluxo de gás e sem
que o fio esteja em tracção.
Consente a introdução do fio na bainha da tocha durante as
fases de preparação da soldagem.
TR1: Pós-vazão do gás.
Consente de definir e regular o fluxo de gás no fim da soldadura.
Mínimo 0s, Máximo 10s, Default 0s
68

Table of Contents

Related product manuals