EasyManua.ls Logo

Selco NEOMIG 2000 - 3 Laitteen Esittely; Yleistä; STANDARD Etuohjauspaneeli

Default Icon
Print Icon
To Next Page IconTo Next Page
To Next Page IconTo Next Page
To Previous Page IconTo Previous Page
To Previous Page IconTo Previous Page
Loading...
3 LAITTEEN ESITTELY
3.1 Yleistä
NEOMIG-sarjan puoliautomaattiset, jatkuvalla langansyötöllä
toimivat MIG/MAG-hitsauslaitteet takaavat hyvän toiminnon ja
laadun sekä umpilanka- että täytelankahitsauksessa.
Sarjalle NEOMIG on ominaista rungon sisäpuolella oleva veto-
laite, joka mahdollistaa “kompaktien” generaattorien valmistuk-
sen, joita on helppo siirtää ja jotka ovat kohtuukokoisia.
Generaattorit NEOMIG pystyvät tyydyttämään kaikki vaatimuk-
set hitsauksen suhteen.
Generaattorin staattinen ominaisto on jatkuvalla jännitteellä
hitsausjännitteen säätö on portaallinen; induktanssin valittavat
ulostulot suovat koneenkäyttäjälle mahdollisuuden asettaa gen-
eraattorille optimaalisen mekanismin hitsausta varten.
Saatavana kahtena eri versiona:
STANDARD:
langansyöttönopeus on säädettävissä suoraan etupaneelista
vahvistuksen avulla.
XP:
näissä hitsausgeneraattoreissa on uusi "SYNERGIA" toiminto-
muoto.
Kun synerginen toimintomuoto aktivoidaan käytettävän hitsaus-
materiaalin sekä langan halkaisijan asetuksen yhteydessä,
saadaan langansyöttönopeus automaattisesti, mikä helpottaa
hitsauksen säätötoimenpiteitä.
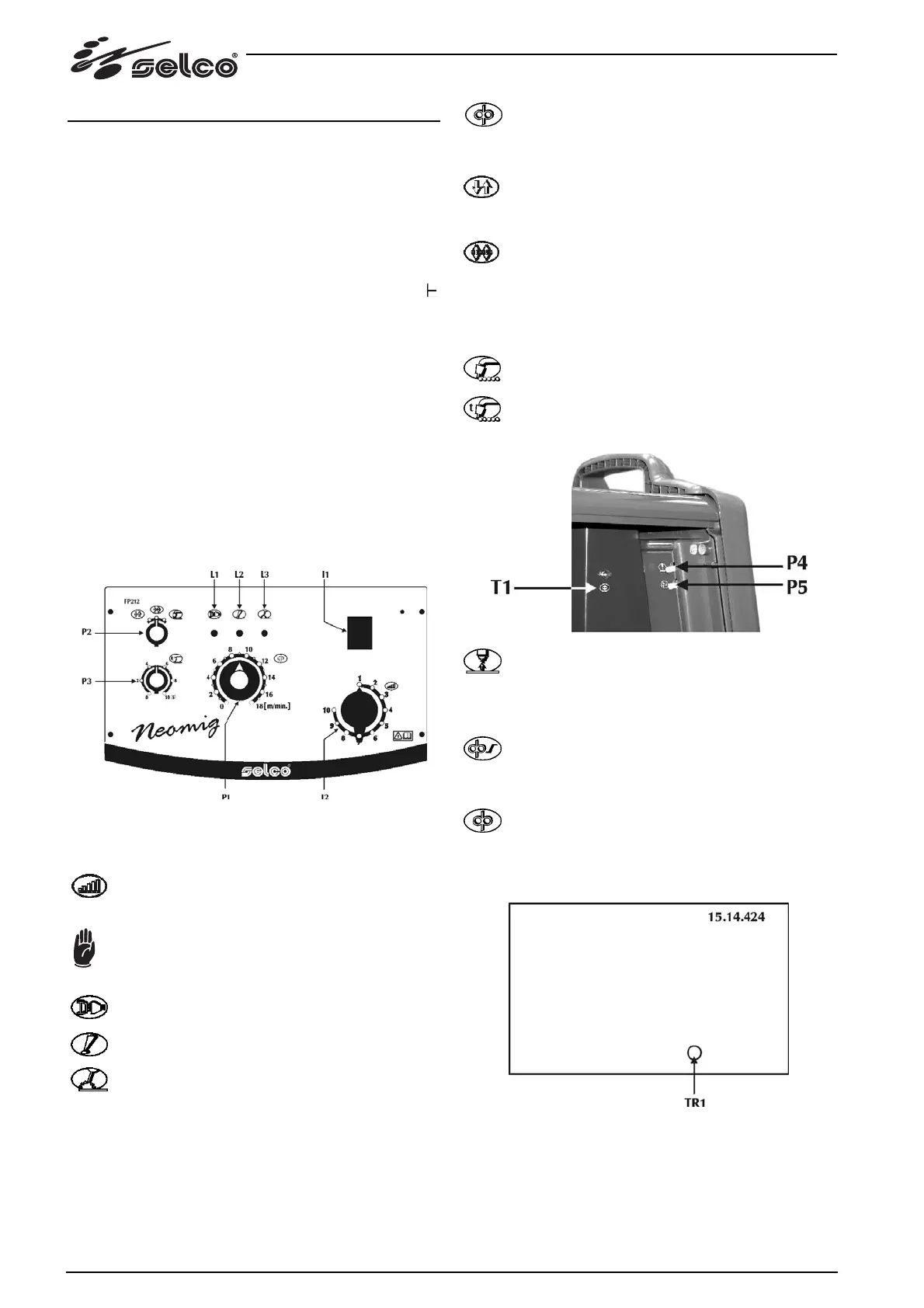
3.2 “STANDARD” etuohjauspaneeli
Kuva 3 NEOMIG STANDARD
Katkaisin I1: pääkatkaisin kytkentää varten (pos. 0 = gene-
raattori poiskytkettynä).
Kommutaattori l2: kommutaattori jopa 7/10 asennon
säätelyllä.
Älä ikinä koske kommutaattoriin hitsauksen aikana!
L1: syttyy heti kun generaattoriin tulee virtaa.
L2: osoittaa suojalaitteiden aktivoitumisen, joista läm-
pösuoja.
L3: syttyy kun hitsauslaitteessa on antojännitettä.
P1: potentiometri langansyötön nopeuden säätöä
varten.
Minimi 0 m/min, Max 18 m/min
P2: hitsaustavan valinta.
Kahdessa vaiheessa: painikkeen painaminen kahdessa
vaiheessa saa kaasun virtaamaan, aktivoi langan kirey-
den ja vie lankaa eteenpäin. Kaasua päästettäessä lan-
gan kireys ja eteneminen keskeytyvät.
Neljässä vaiheessa: neljässä vaiheessa painikkeen
ensimmäinen painallus saa kaasun virtaamaan suorit-
taen manuaalisen esikaasun, painikkeen vapautuessa
aktivoituu langan kireys ja eteneminen. Painikkeen seu-
raava painallus pysäyttää langan ja käynnistää lop-
puprosessin, joka vie jännitteen nollaan ja painikkeen
lopullinen vapauttaminen lopettaa kaasun virtauksen.
Pistehitsaus: voidaan käyttää ajastettua hitsausta.
P3: pistehitsauksen kesto.
Hitsausajan säätö.
Minimi 0s, Max 10s
P4: burn back.
Langan palamisaika voidaan säätää, jolloin estetään
kiinnitarttuminen hitsauksen lopussa.
Polttimen ulkopuolisen langan pituutta voidaan säätää.
Minimi 0s, Max 0.5s, Oletusarvo 100ms
P5: moottorin ramppi.
Sen avulla voidaan asettaa asteittainen kulku langan
nopeuden välille sytytyksessä ja hitsauksessa.
Minimi 0s, Max 2s, Oletusarvo 250ms
T1: langan syöttö.
Langan syöttö voidan suorittaa käsin ilman kaasun vir-
tausta ja langan jännitettä.
Lanka voidaan hitsaustoimenpiteen valmistelun aikana asettaa
polttimen suojaan.
TR1: Kaasun jälkivirtaus.
Sen avulla voidaan asettaa ja säätää kaasun virtaus hitsauksen
lopussa.
Minimi 0s, Max 10s, Oletusarvo 0s
128

Table of Contents

Related product manuals