EasyManua.ls Logo

Selco NEOMIG 2000 - 3 Beskrivning Av Svetsaggregatet; Allmänt; Främre Kontrollpanel STANDARD

Default Icon
Print Icon
To Next Page IconTo Next Page
To Next Page IconTo Next Page
To Previous Page IconTo Previous Page
To Previous Page IconTo Previous Page
Loading...
3 BESKRIVNING AV SVETSAGGREGATET
3.1 Allmänt
De halvautomatiska aggregaten för MIG-/MAG-svetsning med kon-
tinuerlig tråd i NEOMIG-serien har höga prestanda och ger hög
kvalitet vid svetsning med solidtråd och rörtråd.
Serien NEOMIG kännetecknas av att drivorganen är placerade
innanför karosseriet så att generatorerna är små och kompakta och
därmed lätta att flytta.
Generatorerna NEOMIG täcker alla svetsningsbehov.
Generatorns statiska karakteristik är konstant spänning med ste-
ginställning av arbetsspänningen. Tack vare de olika induktansut-
gångar du kan välja kan du ställa in generatorns dynamik optimalt
för svetsningen.
Det finns två olika versioner:
STANDARD:
trådmatningshastigheten kan ställas in direkt från den främre kon-
trollpanelen med en potentiometer.
XP:
dessa svetsgeneratorer har det innovativa funktionssättet "SYNERGI".
Genom inkoppling av synergin med inställning av den typ av mate-
rial som ska svetsas och den använda trådens diameter kan trådha-
stigheten anpassas automatiskt så att svetsningsinställningarna i
anläggningen underlättas.
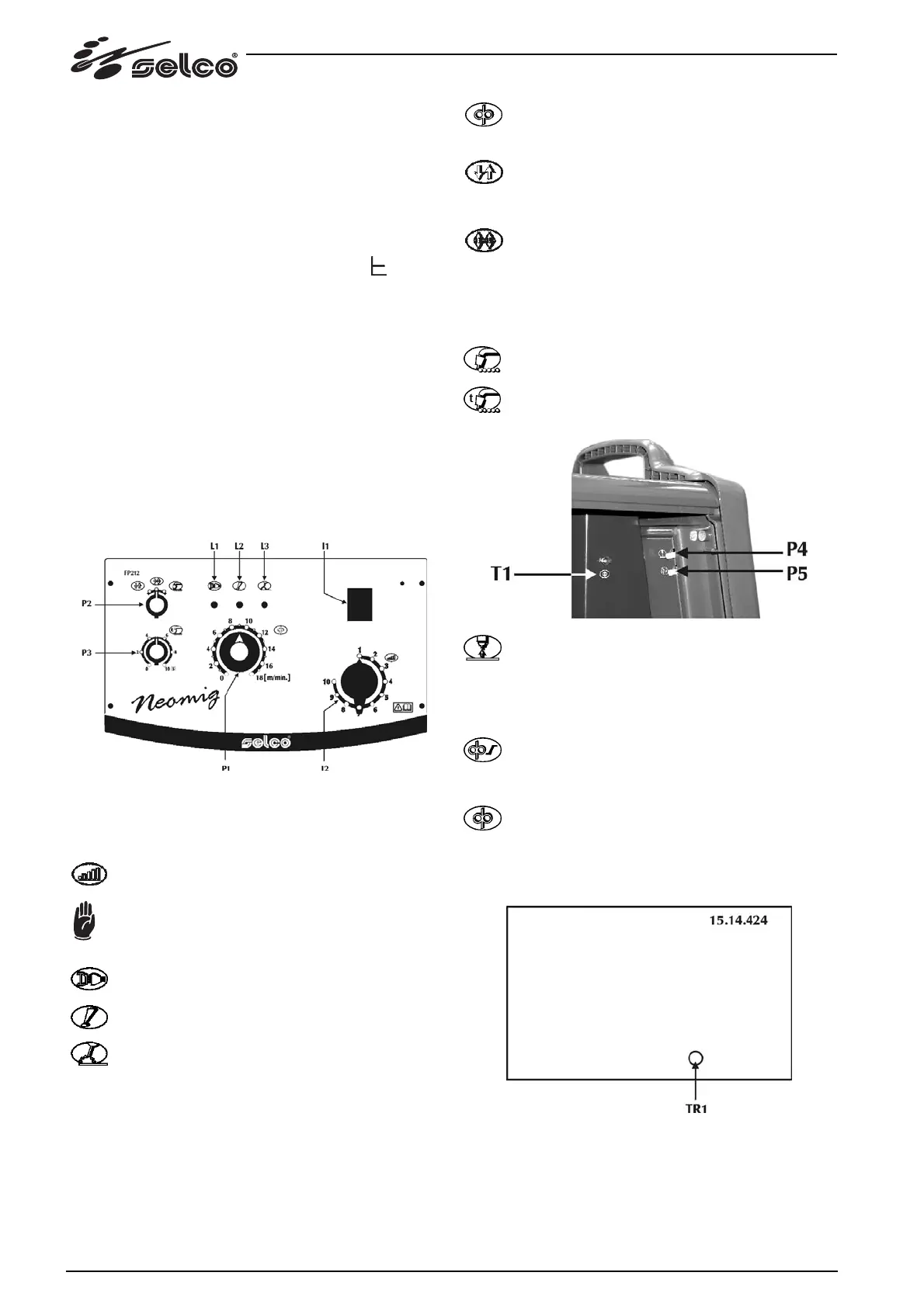
3.2 Främre kontrollpanel STANDARD
Fig.3 NEOMIG STANDARD
Strömbrytare I1: huvudströmbrytare (läge 0 = generatorn
avstängd).
Strömbrytare l2: väljare för fininställning av upp till
7/10 lägen.
Rör aldrig strömbrytaren när du svetsar!
L1: tänds så fort generatorn sätts under spänning.
L2: anger att en skyddsanordning, som t.ex. överhet-
tningsskyddet, har slagit till.
L3: tänds när det finns en utspänning från svetsaggre-
gatet.
P1: potentiometer för inställning av trådhastighet.
Minimum 0 m/min, Maximum 18 m/min
P2: svetsningsmetod.
2 Faser : när du trycker på knappen strömmar gasen ut,
det skapas spänning på elektroden och tråden matas
fram. När du släpper knappen stängs spänningen av
och trådmatningen upphör.
4 Faser : första gången du trycker på knappen strömmar
gasen ut, så att en manuell förgas-behandling genomförs.
När du släpper upp knappen skapas spänning på elektro-
den och tråden matas fram. Nästa gång du trycker på
knappen blockeras tråden och den avslutande processen
under vilken strömmen sjunker ner till noll inleds. När du
släpper knappen igen upphör gasflödet.
Punktsvetsning: används för tidsstyrd svetsning.
P3: punktsvetsningstid.
För inställning av svetsningstiden.
Minimum 0s, Maximum 10s
P4: burn back.
Gör det möjligt att ställa in trådens bränntid och för-
hindra att den fastnar efter svetsningen.
Gör det möjligt att reglera längden på den del av tråden som
befinner sig utanför brännaren.
Minimum 0s, Maximum 0.5s, Standard 100ms
P5: motorramp.
För inställning av en stegvis övergång mellan trådhasti-
gheten vid tändningen och under svetsningen.
Minimum 0s, Maximum 2s, Standard 250ms
T1: trådmatning.
För manuell frammatning av tråden utan gasflöde och
utan att tråden är spänd.
För inmatning av tråden i brännarens mantel under förberedel-
serna för svetsningen.
TR1: Efter-gas.
För att ställa in och reglera gasflödet vid slutet av svetsningen.
Minimum 0s, Maximum 10s, Standard 0s
92

Table of Contents

Related product manuals