EasyManua.ls Logo

Selco NEOMIG 2000 - 3 Présentation de la Machine; Généralités; Panneau de Commande Frontal STANDARD

Default Icon
Print Icon
To Next Page IconTo Next Page
To Next Page IconTo Next Page
To Previous Page IconTo Previous Page
To Previous Page IconTo Previous Page
Loading...
3 PRÉSENTATION DE LA MACHINE
3.1 Généralités
Les installations semi-automatiques de la série NEOMIG pour la sou-
dure MIG/MAG à fil continu garantissent beaucoup de performan-
ces et une haute qualité de soudure avec des fils pleins et fourrés.
La série NEOMIG se caractérise par la présence de l'unité de trac-
tion à l'intérieur du bâti, ce qui a permis de réaliser des générateurs
"compacts", faciles à déplacer et aux dimensions contenues.
Les générateurs NEOMIG sont en mesure de satisfaire toutes les
exigences de soudure.
La caractéristique statique du générateur est à tension constante
avec réglage graduel de la tension de soudure ; les différentes sorties
de l'inductance pouvant être sélectionnées permettent à l'opérateur
de saisir la dynamique optimale du générateur pour la soudure.
Deux versions différentes sont disponibles:
Version STANDARD:
Possibilité d'augmenter la vitesse d'alimentation du fil directement
sur le panneau de commande.
Version XP:
ces générateurs pour la soudure présentent un mode de fonction-
nement "SYNERGIQUE" innovateur.
Le fait d'activer le mode de fonctionnement synergique et de saisir
le type de matériau à souder ainsi que le diamètre du fil utilisé per-
met à la machine de sélectionner automatiquement la vitesse du fil,
ce qui en simplifie les opérations de réglage lors de la soudure.
3.2 Panneau de commande frontal “STANDARD”
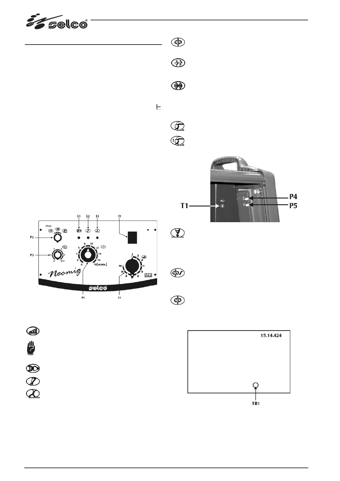
Sch.3 NEOMIG STANDARD
Interrupteur I1: interrupteur principal pour l'allumage (pos. 0
= générateur éteint).
Commutateur l2: commutateur pour le réglage précis à
7/10 positions.
Ne jamais actionner le commutateur durant la soudure!
L1: s'allume dès que le générateur est alimenté.
L2: indique l'intervention éventuelle des dispositifs de
protection tels que la protection thermique.
L3: s'allume quand il y a du courant à la sortie de la sou-
deuse.
P1: potentiomètre de réglage de la vitesse du fil.
Minimum 0 m/min, Maximum 18 m/min
P2 : modes de soudure.
2 Temps: appuyer sur ce bouton pour faire arriver le gaz,
activer la tension sur le fil et le faire avancer. Le fait de le
relâcher bloque l'arrivée du gaz, la tension et l'avance-
ment du fil.
4 Temps: appuyer une première fois sur ce bouton pour
faire arriver le gaz en effectuant un pré-gaz manuel. Le
relâcher pour activer la tension sur le fil et le faire avan-
cer. Appuyer une seconde fois sur ce bouton pour blo-
quer le fil et commencer le processus final qui amène le
courant à zéro. L'arrivée du gaz est coupée quand on le
relâche définitivement.
Par induction: pour l'exécution de soudures tempori-
sées.
P3 : temps d'induction.
Pour régler le temps de soudage.
Minimum 0 s, Maximum 10 s
P4: burn back.
Il permet de régler le temps de brûlure du fil en empê-
chant qu'il colle en fin de soudure.
Il permet de régler la longueur de l'extrémité du fil qui dépasse
de la torche.
Minimum 0 s, Maximum 0.5 s, Par défaut 100 ms
P5: rampe moteur.
Cette touche permet d'avoir un passage graduel entre la
vitesse d'amorçage du fil et celle de soudure.
Minimum 0 s, Maximum 2 s, Par défaut 250 ms
T1 : avancement du fil.
Pour faire avancer manuellement le fil sans qu'il soit
tendu et sans arrivée de gaz.
Il permet d'introduire le fil dans la gaine de la torche durant les
phases de préparation au soudage.
TR1: post gaz.
Cette touche permet de saisir et de régler l'arrivée du gaz en fin de
soudure.
Minimum 0 s, Maximum 10 s, Par défaut 0 s
44

Table of Contents

Related product manuals