EasyManua.ls Logo

Selco NEOMIG 2000 - Presentazione Della Saldatrice; Generalità; Pannello Comandi Frontale STANDARD

Default Icon
Print Icon
To Next Page IconTo Next Page
To Next Page IconTo Next Page
To Previous Page IconTo Previous Page
To Previous Page IconTo Previous Page
Loading...
3 PRESENTAZIONE DELLA SALDATRICE
3.1 Generalità
Gli impianti semiautomatici della serie NEOMIG per la saldatu-
ra MIG/MAG a filo continuo garantiscono elevate prestazioni e
qualità nella saldatura con fili pieni ed animati.
La serie NEOMIG è caratterizzata dalla presenza del traino all’ in-
terno della carrozzeria, questo ha consentito di realizzare genera-
tori “compatti” facili da spostare e di dimensioni contenute.
I generatori NEOMIG sono in grado di soddisfare tutte le esi-
genze di saldatura.
La caratteristica statica del generatore è a tensione costante
con regolazione a gradino della tensione di saldatura; le diverse
uscite dell’induttanza selezionabili consentono all’operatore di
impostare la dinamica del generatore ottimale per la saldatura.
Sono disponibili due diverse versioni:
Versione STANDARD:
la velocità di alimentazione del filo è regolabile direttamente da
pannello frontale tramite potenziamento.
Versione XP:
questi generatori per la saldatura presentano un’innovativa
modalità di funzionamento “SINERGIA”.
L’abilitazione della sinergia con l’impostazione del tipo di mate-
riale da saldare e del diametro del filo utilizzato consente un’au-
tomatica predisposizione della velocità filo, semplificando di
fatto le operazioni di regolazione in saldatura dell’impianto.
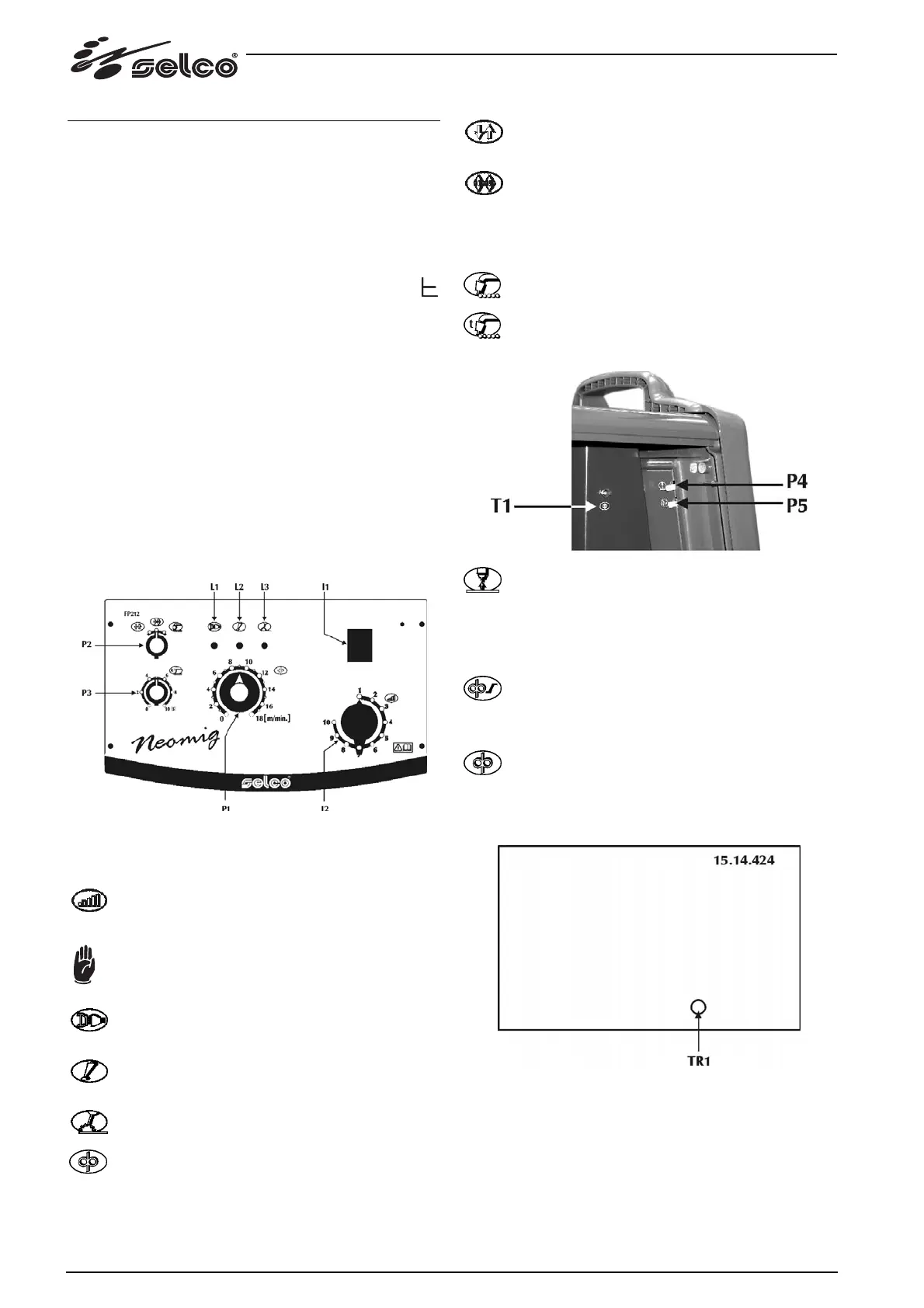
3.2 Pannello comandi frontale “STANDARD”
Fig.3 NEOMIG STANDARD
Interruttore I1: interruttore principale per l’accensione (pos. 0
= generatore spento).
Commutatore l2: commutatore per la regolazione fine
a 7/10 posizioni.
Non manovrare mai il commutatore mentre si sta
saldando!
L1: si illumina non appena il generatore viene alimen-
tato.
L2: indica l’eventuale intervento dei dispositivi di pro-
tezione quali la protezione termica.
L3: si illumina quando è presente tensione in uscita
alla saldatrice.
P1: potenziometro di regolazione velocità filo.
Minimo 0 m/min, Massimo 18 m/min
P2: modalità di saldatura.
2 Tempi: in due tempi la pressione del pulsante fa fluire il
gas, attiva la tensione sul filo e lo fa avanzare; al rilascio il
gas, la tensione e l’avanzamento del filo vengono tolti.
4 Tempi: in quattro tempi la prima pressione del pulsante
fa fluire il gas effettuando un pre gas manuale, al rilascio
viene attivata la tensione sul filo e il suo avanzamento. La
successiva pressione del pulsante blocca il filo e fa iniziare
il processo finale che porta la corrente a zero, il rilascio
definitivo del pulsante toglie l’afflusso del gas.
Puntatura: permette l’esecuzione di saldature tempo-
rizzate.
P3: tempo di puntatura.
Permette la regolazione del tempo di saldatura.
Minimo 0s, Massimo 10s
P4: burn back.
Permette la regolazione del tempo di bruciatura del filo
impedendo l’incollamento a fine saldatura.
Consente di regolare la lunghezza del pezzo di filo esterno alla
torcia.
Minimo 0s, Massimo 0.5s , Default 100ms
P5: rampa motore.
Permette di impostare un passaggio graduale tra la
velocità filo d’innesco e quella di saldatura.
Minimo 0s, Massimo 2s, Default 250ms
T1: avanzamento filo.
Permette l’avanzamento manuale del filo senza flusso
gas e senza che il filo sia in tensione.
Consente l’inserimento del filo nella guaina della torcia durante
le fasi di preparazione alla saldatura.
TR1: Post gas.
Permette di impostare e regolare il flusso di gas a fine saldatura.
Minimo 0s, Massimo 10s, Default 0s
8

Table of Contents

Related product manuals