EasyManua.ls Logo

Selco NEOMIG 2000 - 3 Presentatie Van Het Lasapparaat; Algemene Informatie; STANDAARD Voorpaneel

Default Icon
Print Icon
To Next Page IconTo Next Page
To Next Page IconTo Next Page
To Previous Page IconTo Previous Page
To Previous Page IconTo Previous Page
Loading...
3 PRESENTATIE VAN HET LASAPPARAAT
3.1 Algemene informatie
De halfautomatische apparaten van de serie NEOMIG voor het
MIG/MAG lassen met continue draadtoevoer garanderen voor
grote prestaties en kwaliteit bij het lassen met massieve en gevulde
lasdraad.
De serie NEOMIG wordt gekenmerkt door de aanwezigheid van
de draadtoevoereenheid binnen de structuur en zodoende konden
er “compacte”, makkelijk te verplaatsen generatoren met kleine
afmetingen gerealiseerd worden.
De generatoren NEOMIG zijn in staat aan alle laseisen te voldoen.
De statische eigenschap van de generator is met constante spanning
met trapsgewijze regeling van de lasspanning; de verschillende
selecteerbare uitgangen van de inductantie maken het voor de las-
ser mogelijk om de optimale dynamiek van de generator voor het
lassen in te stellen.
Er zijn twee verschillende uitvoeringen beschikbaar:
STANDAARD versie:
de snelheid van de draadtoevoer kan direct vanaf het voorpaneel
geregeld worden door middel van potentiometer.
Versie XP:
deze lasgeneratoren bezitten een innovatieve werkwijze: "SYNER-
GIE".
De activering van de synergie met de instelling van het soort te las-
sen materiaal en de diameter van de gebruikte draad zorgt voor
een automatische instelling van de draadsnelheid, waardoor de
handelingen voor het regelen van het apparaat tijdens het lassen
vergemakkelijkt worden.
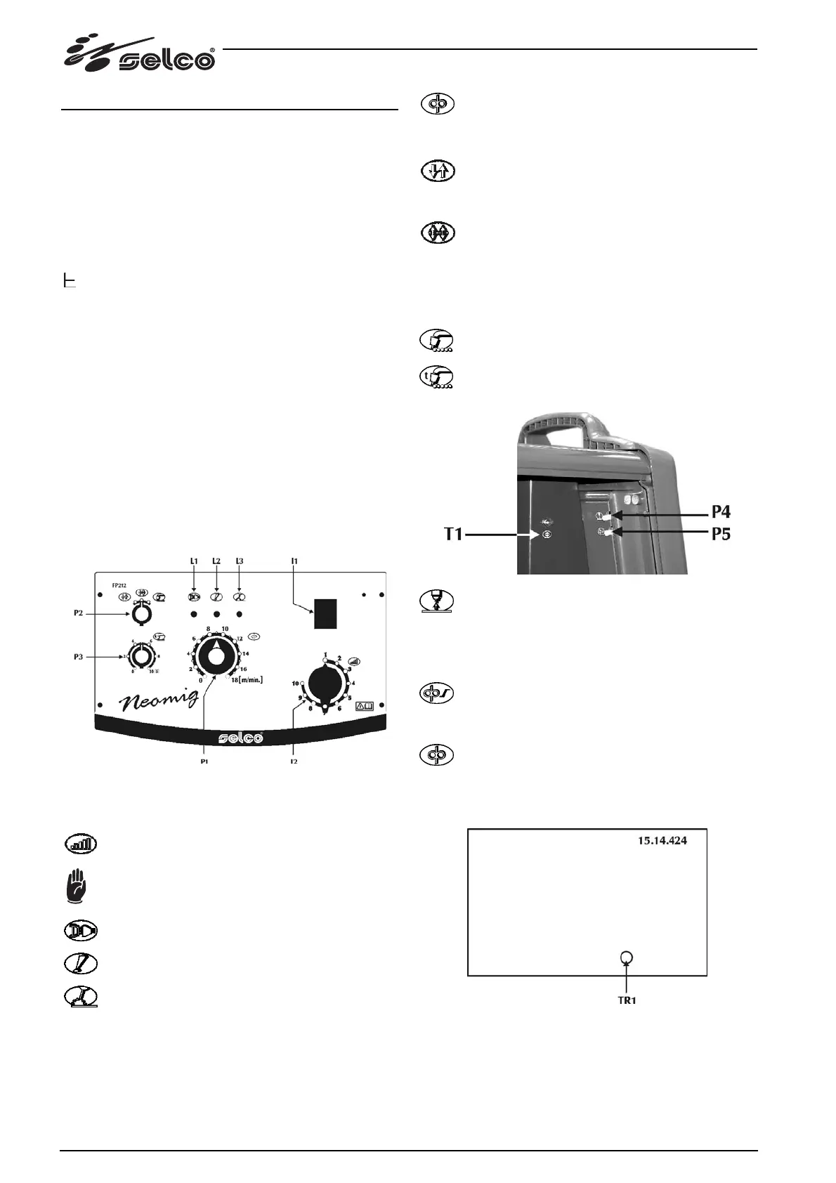
3.2 “STANDAARD” voorpaneel
Fig.3 NEOMIG STANDARD
Schakelaar I1: hoofdschakelaar voor het aanzetten (pos. 0 =
generator uit).
Schakelaar l2: schakelaar voor de fijne regeling met 7/10
standen.
Kom niet aan de schakelaar terwijl u aan het lassen
bent!
L1: gaat branden zodra de generator onder stroom
gezet wordt.
L2: geeft aan dat er een beveiligingsinrichting ingegre-
pen heeft zoals bijvoorbeeld de thermische beveiliging.
L3: gaat branden wanneer er stroom op de uitgang van
het lasapparaat staat.
P1: potentiometer om de snelheid van de draad mee
in te stellen.
Minimum 0 m/min, Maximum 18 m/min
P2: lasmodus.
2 Tijden : Bij het drukken op de knop gaat het gas stro-
men, komt er spanning op de draad en begint de draad
te lopen; bij het loslaten van de knop stoppen het gas,
de spanning en de draadtoevoer.
4 Tijden : Bij de eerste druk op de knop begint het gas
te stromen voor een handmatige gasvoorstroming, bij
het loslaten komt er spanning op de draad en begint de
draad te lopen. Als de knop opnieuw ingedrukt wordt
blokkeert de draad en begint het eindproces waarin de
stroom op nul gebracht wordt. Als de knop definitief
losgelaten wordt stopt de gastoevoer.
Puntlassen: voor tijdgestuurd lassen.
P3: puntlastijd.
Voor het instellen van de lastijd.
Minimum 0s, Maximum 10s
P4: burn back.
Voor het instellen van de tijd dat de draad brandt waar-
door het vastplakken aan het eind van de lasbewerking voorkomen
wordt.
Voor de regeling van de lengte van het stuk draad buiten de toorts.
Minimum 0s, Maximum 0.5s, Default 100ms
P5: motortijd.
Voor een geleidelijke overgang tussen de draadsnelheid
bij de ontsteking en die bij het lassen.
Minimum 0s, Maximum 2s, Default 250ms
T1: draadtoevoer.
Om de draad met de hand toe te voeren zonder gas-
stroming en zonder dat de draad onder spanning staat.
Zo kan de draad in de huls van de toorts aangebracht worden
tijdens de voorbereidingsfase.
TR1: Gasnastroomtijd.
Voor het instellen en regelen van de gasstroom na het lassen.
Minimum 0s, Maximum 10s, Default 0s
80

Table of Contents

Related product manuals