EasyManua.ls Logo

Selco NEOMIG 2000 - 3 MACHINE DESCRIPTION; STANDARD Front Control Panel

Default Icon
Print Icon
To Next Page IconTo Next Page
To Next Page IconTo Next Page
To Previous Page IconTo Previous Page
To Previous Page IconTo Previous Page
Loading...
3 MACHINE DESCRIPTION
3.1 Generalities
The semiautomatic NEOMIG Series systems for continuous wire
welding in MIG/MAG ensure high performance and quality in
welding with solid and core wires.
The NEOMIG series, characterised by the incorporated wire
feed unit, provide "compact" power sources which are easy to
move and feature limited dimensions.
The NEOMIG power sources are able to meet all welding
requirements.
The static characteristic of the power source is constant voltage
with step adjustment of the welding voltage; the different
inductance outputs that can be selected enable the operator to
set optimal power source dynamics for welding.
Two different versions are available:
STANDARD version:
the wire feed speed can be adjusted directly from the front
panel via potentiometer.
XP version:
these welding power sources feature an innovative "SYNERGY"
operating mode.
Synergy enable with setting of the type of material to be welded
and diameter of the wire used permits automatic wire speed
definition, simplifying system welding adjustment operations.
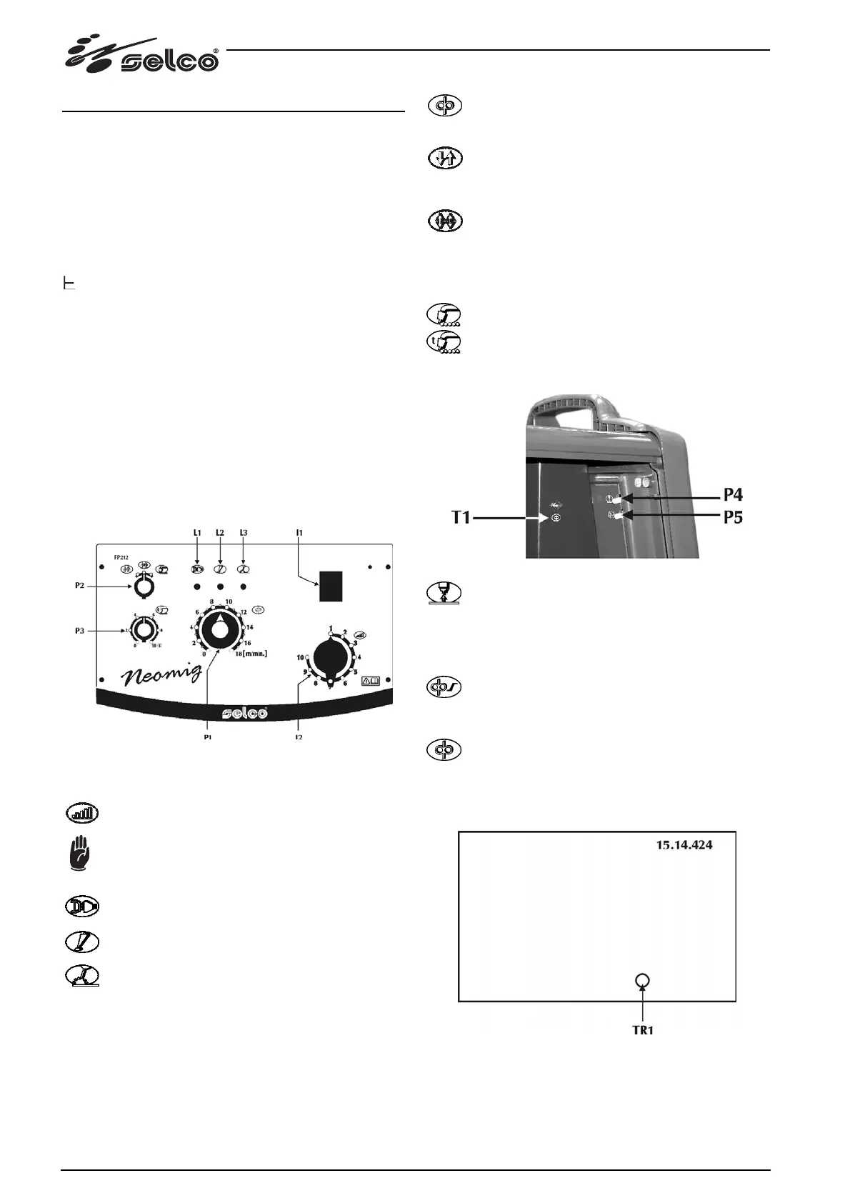
3.2 “STANDARD” front control panel
Fig.3 NEOMIG STANDARD
Switch I1: the main sparking switch (Pos. 0 = power source OFF).
Switch l2: switch for fine adjustment to 7/10 positions.
Never operate the switch while you are welding!
L1: comes on as soon as the power source is powered.
L2: indicates cut-in of any protection devices such as
the thermal protection.
L3: comes on when voltage is present at the welder out-
put.
P1: wire speed adjustment potentiometer.
Minimum 0 m/min, Maximum 18 m/min
P2: welding mode.
Two-Step: in two-step mode, pressing the button cau-
ses the gas to flow, activates the voltage on the wire and
moves it forward; when released, the gas, the voltage
and the wire feed are de-activated.
Four-Step: in four-step mode, the first time the button is
pressed, the gas flows, running a manual pre-gas time;
when released, the wire voltage and feed are activated. If
the button is pressed again, the wire is blocked and the
final process is initiated, setting the current to zero; final
release of the button stops the gas flow.
Spot welding: it allows performing timed welding.
P3: spot welding time.
It allows adjusting the welding time.
Minimum 0s, Maximum 10s
P4: burn back.
Permits adjustment of the wire burn time, preventing
sticking at the end of welding.
Permits adjustment of the length of the wire piece outside the
torch.
Minimum 0s, Maximum 0.5s, Default 100ms
P5: motor ramp.
Allows you to set a gradual transition between the arc
striking wire speed and the final welding wire speed.
Minimum 0s, Maximum 2s, Default 250ms
T1: wire feed.
It allows wire feeding without any gas flow and without
the wire being live.
It allows inserting the wire into the torch sheath during the wel-
ding preparatory stages.
TR1: Post-gas.
Permits setting and adjustment of the gas flow at the end of wel-
ding.
Minimum 0s, Maximum 10s, Default 0s
20

Table of Contents

Related product manuals