EasyManua.ls Logo

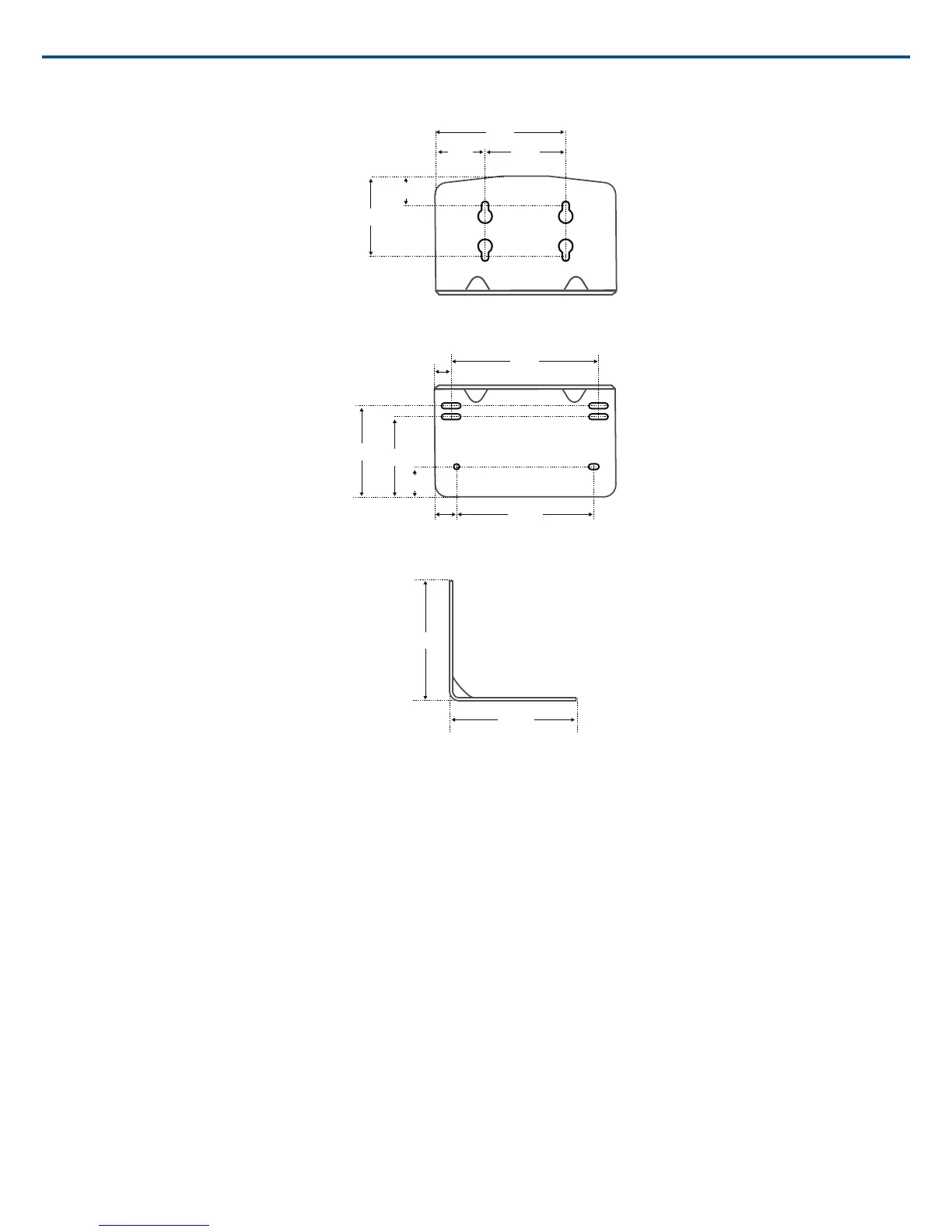
Shure MXW - Overall Dimensions and APT Mounting; Overall Dimensions; Mount the Access Point Transceiver

Shure MXW
72 pages
Print Icon
To Next Page IconTo Next Page
To Next Page IconTo Next Page
To Previous Page IconTo Previous Page
To Previous Page IconTo Previous Page
Loading...
16 mm
[0.630”]
21 mm
[0.827”]
46 mm
[1.811”]
57 mm
[2.244”]
67 mm
[2.638”]
95 mm
[3.740”]
106 mm
[4.173”]
98.26 mm
[3.868”]
13.1 mm
[0.516”]
12 mm
[0.472”]
60 mm
[2.362”]
35 mm
[1.378”]
75 mm
[2.953”]
80 mm
[3.150”]
Top View
Shure IncorporatedMXW
23/722017/05/17

Table of Contents

Other manuals for Shure MXW

Related product manuals