EasyManua.ls Logo

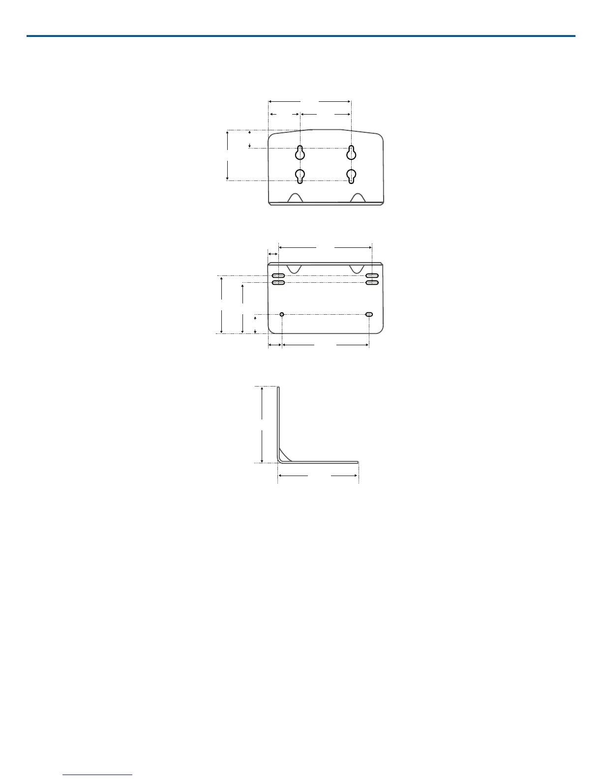
Shure MXW - NCS2 Mount Dimensions (Continued); NCS2 Mount Dimensions

Shure MXW
72 pages
Print Icon
To Next Page IconTo Next Page
To Next Page IconTo Next Page
To Previous Page IconTo Previous Page
To Previous Page IconTo Previous Page
Loading...
NCS2 Mount Dimensions
16 mm
[0.630”]
21 mm
[0.827”]
46 mm
[1.811”]
57 mm
[2.244”]
67 mm
[2.638”]
95 mm
[3.740”]
106 mm
[4.173”]
98.26 mm
[3.868”]
13.1 mm
[0.516”]
12 mm
[0.472”]
60 mm
[2.362”]
35 mm
[1.378”]
75 mm
[2.953”]
80 mm
[3.150”]
Side View
Shure IncorporatedMXW
2017/05/1722/72

Table of Contents

Other manuals for Shure MXW

Related product manuals