EasyManua.ls Logo

Shure MXW - Mount the Access Point Transceiver; Select a Location

Shure MXW
72 pages
Print Icon
To Next Page IconTo Next Page
To Next Page IconTo Next Page
To Previous Page IconTo Previous Page
To Previous Page IconTo Previous Page
Loading...
16 mm
[0.630”]
21 mm
[0.827”]
46 mm
[1.811”]
57 mm
[2.244”]
67 mm
[2.638”]
95 mm
[3.740”]
106 mm
[4.173”]
98.26 mm
[3.868”]
13.1 mm
[0.516”]
12 mm
[0.472”]
60 mm
[2.362”]
35 mm
[1.378”]
75 mm
[2.953”]
80 mm
[3.150”]
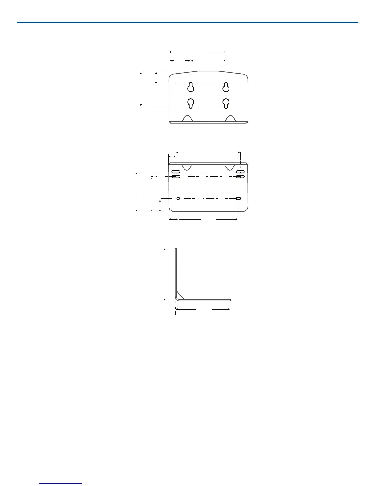
Overall Dimensions
Mount the Access Point Transceiver
The directional antennas of the APT send and receive the RF signal in a cardioid pattern with the greatest sensitivity toward the face of the device. Always aim
this side toward the microphone coverage area.
Select a Location
The access point is typically mounted to a ceiling or wall near the microphone coverage area. For best results, perform a Spectrum Scan at potential locations
to find the optimal placement (see Wireless Management section for more details).
Use the following best-practices when selecting a location for the device:
Direct the face of the access point toward the intended coverage area.
Position the access point so there is nothing obstructing a line of sight to the microphones.
Keep device away from large metal objects.
Keep at least eight feet between access points.
Mount with its reset button accessible, as it may be useful for troubleshooting.
Shure IncorporatedMXW
2017/05/1724/72

Table of Contents

Other manuals for Shure MXW

Related product manuals