EasyManua.ls Logo

Siemens SICAM - Page 71

Siemens SICAM
174 pages
Print Icon
To Next Page IconTo Next Page
To Next Page IconTo Next Page
To Previous Page IconTo Previous Page
To Previous Page IconTo Previous Page
Loading...
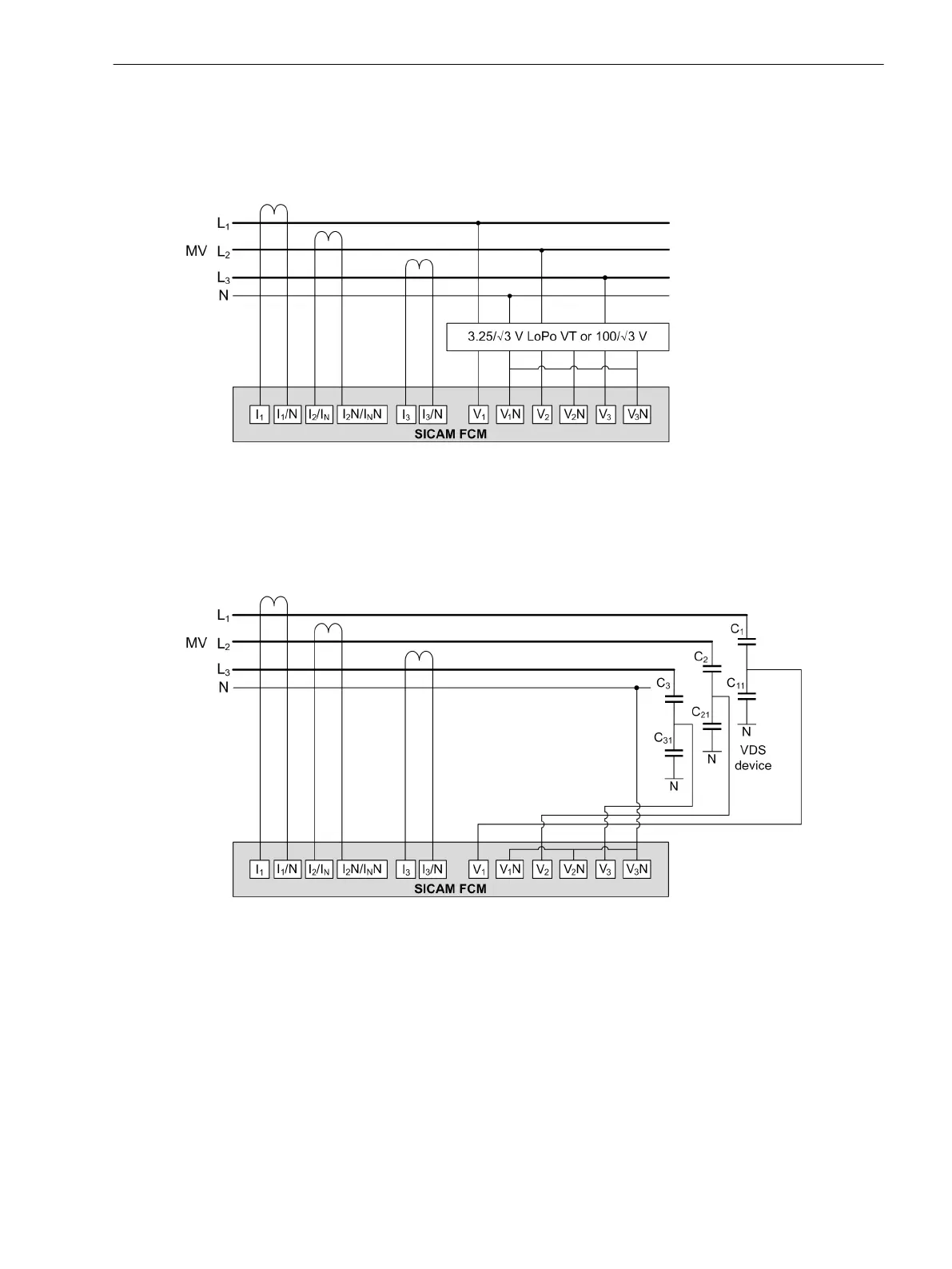
3 Low-Power Voltage Sensor, 3 Low-Power Current Sensor
In a medium-voltage system, the device is connected to the voltage inputs V
1
, V
2
, and V
3
via low-power
voltage transformers of 3.25/√3 V or 100/√3 V. The 3 low-power current sensors are connected to the current
inputs I
1
, I
2
, and I
3
. This scheme is used for a solidly grounded system and the I
N
value is calculated.
[dw_sfcm-fltdtct-lopovt, 2, en_US]
Figure 7-3 SICAM FCM as Fault Detector – 3 Low-Power Voltage Sensors and Current Sensors with 3
Phase Currents for MLFB 6MD2321-1AA00-1AA0
In a medium-voltage system, the device is connected to the voltage inputs V
1
, V
2
, and V
3
via the 4 V to 30 V
VDS system. The 3 low-power current sensors are connected to the current inputs I
1
, I
2
, and I
3
. These connec-
tion diagrams are used for a solidly grounded system and the I
N
value is calculated.
[dw_sfcm-fltdtct-nonvt, 2, en_US]
Figure 7-4 SICAM FCM as Fault Detector – 3 Low-Power Voltage Transformer and Current Transformer
with 3 Phase Currents for MLFB 6MD2322-1AA00-1AA0
3 Low-Power Voltage Sensor, 2 Phase Current, and Sensitive Ground-Current Sensor
In a medium-voltage system, the device is connected to the voltage inputs V
1
, V
2
, and V
3
via low-power
voltage sensors of 3.25/√3 V or 100/√3 V. The 3 low-power current sensors are connected to I
1
, I
2
/I
N
, I
3
with I
N
connected to the sensitive ground-current sensors. This scheme is used for isolated/resonant-grounded
systems and the I
2
value is calculated.
Connection Diagrams
7.1 Connection Diagrams
SICAM, Feeder Condition Monitor, Manual 71
E50417-H8940-C580-A4, Edition 03.2019

Table of Contents

Related product manuals