EasyManua.ls Logo

Siemens SIMATIC CPU 410 - C.8 SM 321; DI 8 x AC 120;230 V, 6 ES7 321-1 FF01-0 AA0

Siemens SIMATIC CPU 410
434 pages
Print Icon
To Next Page IconTo Next Page
To Next Page IconTo Next Page
To Previous Page IconTo Previous Page
To Previous Page IconTo Previous Page
Loading...
Connection examples for redundant I/Os
C.8 SM 321; DI 8 x AC 120/230 V, 6ES7 3211FF010AA0
CPU 410 Process Automation/CPU 410 SMART
398 System Manual, 05/2017, A5E31622160-AC
C.8
SM 321; DI 8 x AC 120/230 V, 6ES7 3211FF01–0AA0
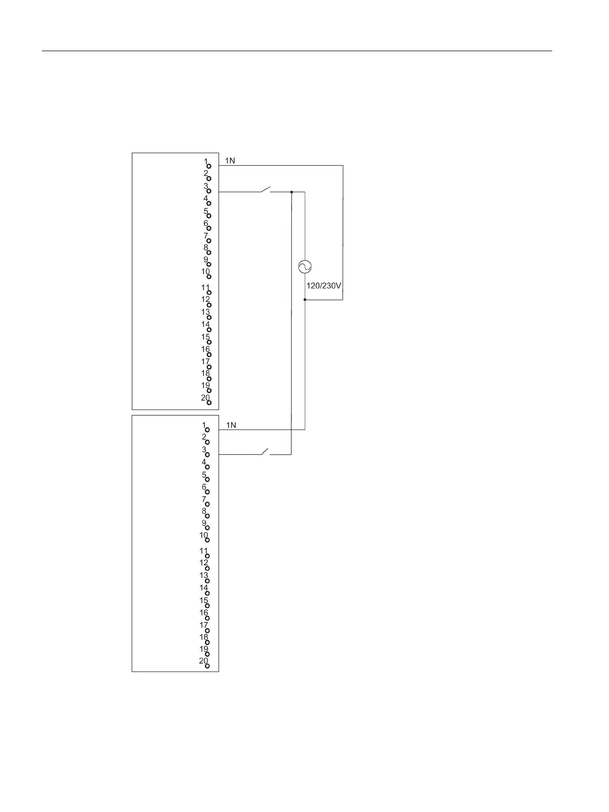
The diagram below shows the connection of two redundant encoders to two SM 321; DI 8
AC 120/230 V. The encoders are connected to channel 0.
Figure C-6 Example of an interconnection with SM 321; DI 8 x AC 120/230 V

Table of Contents

Related product manuals