EasyManua.ls Logo

Siemens SIPROTEC 7SJ61 - Page 383

Siemens SIPROTEC 7SJ61
454 pages
Print Icon
To Next Page IconTo Next Page
To Next Page IconTo Next Page
To Previous Page IconTo Previous Page
To Previous Page IconTo Previous Page
Loading...
Appendix
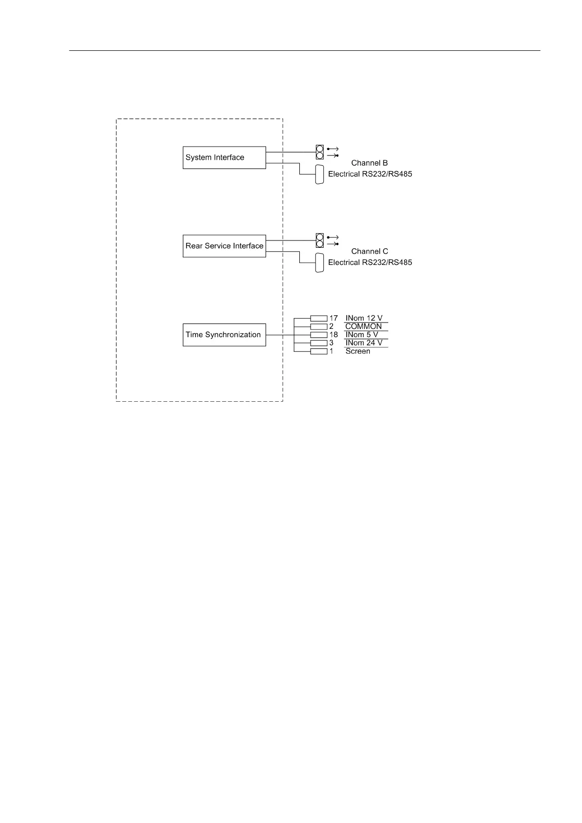
A.2 Terminal Assignments
SIPROTEC, 7SJ61, Manual
C53000-G1140-C210-1, Release date 02.2008
383
7SJ610/1/2*-*B (up to release /DD)
Figure A-8 Connection diagram for 7SJ610/1/2*–*B, release ... /DD and higher (panel surface mounted)

Table of Contents

Other manuals for Siemens SIPROTEC 7SJ61

Related product manuals