EasyManua.ls Logo

Siemens SIPROTEC 7SJ61 - Page 386

Siemens SIPROTEC 7SJ61
454 pages
Print Icon
To Next Page IconTo Next Page
To Next Page IconTo Next Page
To Previous Page IconTo Previous Page
To Previous Page IconTo Previous Page
Loading...
Appendix
A.3 Connection Examples
SIPROTEC, 7SJ61, Manual
C53000-G1140-C210-1, Release date 02.2008
386
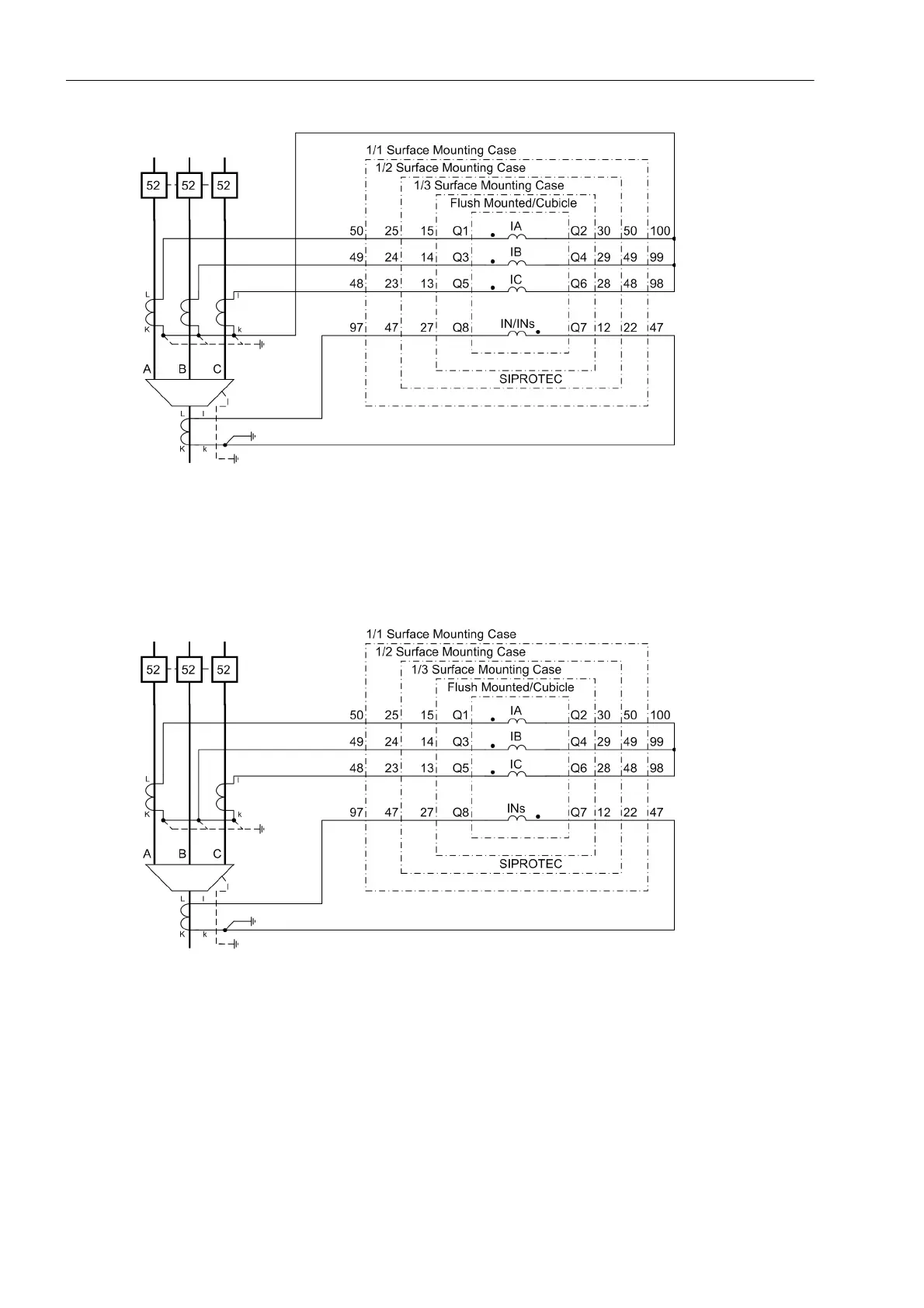
Figure A-11 Current connections to three current transformers, ground current from
additional summation CT, normal circuit layout
Important! Grounding of the cable shield must be effected at the cable's side
For busbar-side grounding of the current transformer, the current polarity of the device is changed via address
0201. This also reverses the polarity of current input IN/INs. When using a cable-type current transformer, the
connection of k and l at Q8 and Q7 must be changed.
Figure A-12 Current connections to two current transformers, ground current of additional
toroidal transformer for sensitive ground fault detection.
Important! Grounding of the cable shield must be effected at the cable's side
For busbar-side grounding of the current transformer, the current polarity of the device is changed via address
0201. This also reverses the polarity of current input INs. When using a cable-type current transformer, the con-
nection of k and l at Q8 and Q7 must be changed.

Table of Contents

Other manuals for Siemens SIPROTEC 7SJ61

Related product manuals