EasyManua.ls Logo

Skyjack SJ20 - Platform Assembly

Skyjack SJ20
108 pages
Print Icon
To Next Page IconTo Next Page
To Next Page IconTo Next Page
To Previous Page IconTo Previous Page
To Previous Page IconTo Previous Page
Loading...
18
SJ20238886ABA
Section 1 – Scheduled Maintenance Visual and daily maintenance inspections
1
4
3
5
2
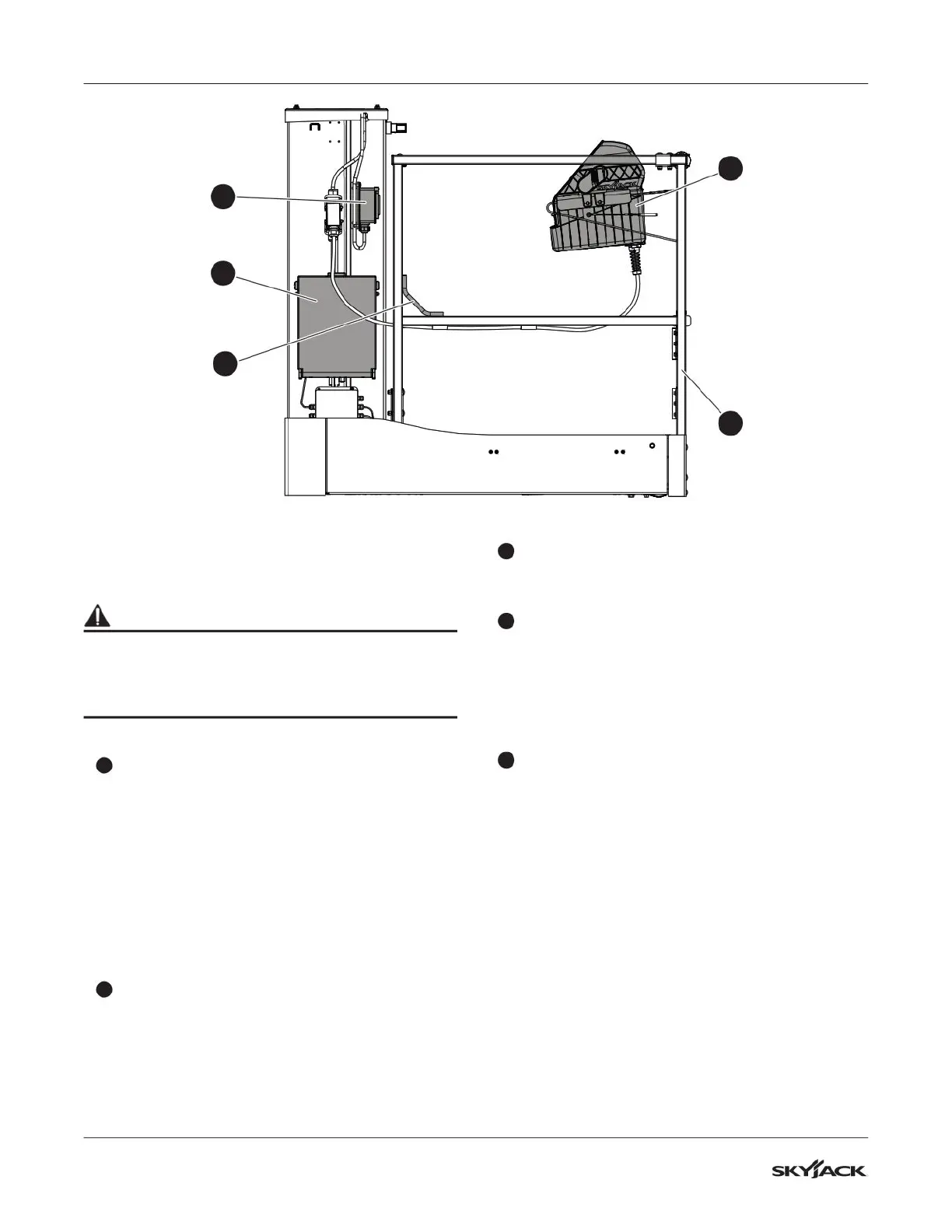
1.7-7 Platform assembly
Do the inspection that follows in sequence:
WARNING
Fall Hazard. Use the three points of contact
principle when you use the MEWP to enter or exit
the platform. If you do not obey, there is a risk of
death or serious injury.
1. Enter the platform and close the gate.
1
Platform, B
Make sure there are no loose or missing parts,
and there is no visible damage.
Make sure that all railings are correctly installed.
Make sure that all fasteners are tight.
Make sure that the gate is in good condition and
operates correctly.
Make sure that the platform foot pedal is in
good working order and that it has no loose or
missing parts and there is no visible damage.
2
Fall-protection anchorages, B
Make sure that the fall-protection anchorages
are correctly attached.
Make sure the fall protection anchorages show
no signs of visible damage, deformation, or
cracks.
3
AC power socket, B
Make sure that the socket is free of dirt or
blockages.
4
Platform control console, B
Make sure the control console is locked with
lock-pins.
Make sure the platform control cable is correctly
locked, and there is no visible damage.
2. Exit the platform, and close the gate.
5
Manual storage box, B
Make sure that the operation manual and other
important documents are in the manual storage
box.
Make sure that the documents are in good
condition, and you can read them.
Always put the manuals and other documents
back in the storage box after use.

Table of Contents

Other manuals for Skyjack SJ20

Related product manuals