EasyManua.ls Logo

Sony HCD-MD555 - Page 49

Sony HCD-MD555
124 pages
Print Icon
To Next Page IconTo Next Page
To Next Page IconTo Next Page
To Previous Page IconTo Previous Page
To Previous Page IconTo Previous Page
Loading...
— 49 —
10. “EFB = MO-P” appears.
The optical pickup moves toward inner circumference of the
pit area. and the servo locks in.
11. Rotate MULTI JOG . The waveform changes at the step of
approx. 2 % in this adjustment. Adjust the waveform until the
waveform becomes as closest as possible to the satisfied value.
12. Press the ENTER/YES button to save the resultant data of
adjustment in the non-volatile memory. (“EFB =
SAVE” is
displayed for a moment.)
Then “EF MO ADJUST” is displayed. The disc stops rotating
automatically.
13. Press the MO§ button and remove the MO disc.
14. Insert the check disc (MD) TDYS-1.
15. Rotate MULTI JOG and let the display “EF CD ADJUST”
(12) appear.
16. Press the ENTER/YES button and let the display “EFB =
CD” appear. The servo locks in automatically.
17. Rotate MULTI JOG . The waveform changes at the step of
approx. 2 % in this adjustment. Adjust the waveform until the
waveform becomes as closest as possible to the satisfied value.
18. Press the ENTER/YES button, display “EFB = SAVE”
for a moment and save the adjustment results in the non-volatile
memory.
Next “EF CD ADJUST” is displayed.
19. Press the MD§ button and remove the check disc (MD)
TDYS-1.
Note 1 : Data will be erased during MO reading if a recorded disc
is used in this adjustment.
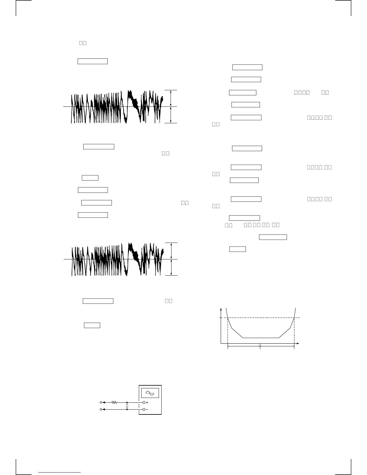
Note 2 : If the traverse waveform is not clear, connect the
oscilloscope as shown in the following figure so that it
can be seen more clearly.
VC
A
B
(Traverse Waveform)
Specification : A = B
VC
A
B
(Traverse Waveform)
Specification : A = B
TP233 (TEO)
10pF
TP416 (VC)
330k
BD board
Oscilloscope
Focus Bias Adjustment
Adjusting Method :
1. Load a test disc (MDW-74/AU-1).
2. Rotate the MULTI JOG knob and display “CPLAY MODE
”(29).
3. Press the ENTER/YES button twice and display “CPLAY
MID”.
4. Press the MENU/NO button when “C =
AD = ” is
displayed.
5. Rotate the MULTI JOG knob and display “FBIAS ADJUST”
(13).
6. Press the ENTER/YES button and display “
/ a
=
”.
The first four digits indicate the C1 error rate, the two digits
after [/] indicate ADER, and the 2 digits after [a =] indicate the
focus bias value.
7. Rotate the MULTI JOG knob in the clockwise direction and
find the focus bias value at which the C1 error rate becomes
220. (Refer to Note 2.)
8. Press the ENTER/YES button and display “
/ b
=
”.
9. Rotate the MULTI JOG knob in the counterclockwise direction
and find the focus bias value at which the C1 error rate becomes
220.
10. Press the ENTER/YES button and display “
/ c
=
”.
11. Check that the C1 error rate is below 50 and ADER is 00. Then
press the ENTER/YES button.
12. If the “(
” in “ - - ( ” is above 20, press the YES
button.
If below 20, press the MENU/NO button and repeat the
adjustment from step 2 again.
13. Press the MD§ button to remove the test disc.
Note 1 : The relation between the C1 error and focus bias is as
shown in the following figure. Find points a and b in the
following figure using the above adjustment. The focal
point position C is automatically calculated from points
a and b.
Note 2 : As the C1 error rate changes, perform the adjustment
using the average value.
C1 error
Focus bias value
(F. BIAS)
bca
Approx.
220

Table of Contents

Related product manuals