EasyManua.ls Logo

Sony HT-CT500 - Page 47

Sony HT-CT500
108 pages
Print Icon
To Next Page IconTo Next Page
To Next Page IconTo Next Page
To Previous Page IconTo Previous Page
To Previous Page IconTo Previous Page
Loading...
47
GB
Playback Options
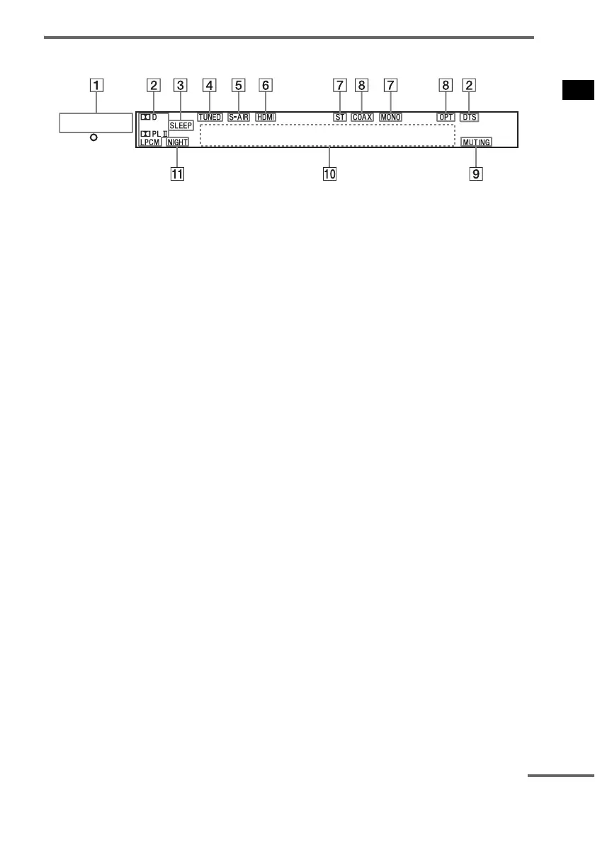
Front panel display (subwoofer)
A POWER / ACTIVE STANDBY indicator
Lights as follows:
Green: the system is turned on.
No light: the system is turned off.
Amber: the system is turned off, and either [HDMI Pass Through] in the [HDMI] menu is set to
[ON] or [AUTO], or [S-AIR Standby] in the [S-AIR] menu is set to [ON].
B Audio decoding indicators
Lights up according to the audio input signals.
C SLEEP (96)
Flashes when the Sleep Timer function is active.
D TUNED (67)
Lights up when a radio station is received.
E S-AIR (85)
Lights up when the S-AIR transmitter (not supplied) is inserted in the subwoofer and the system
transmits the sound.
F HDMI (26, 98)
Lights up when HDMI equipment is in use.
G ST/MONO (67)
Lights up according to the stereo or monaural status of the radio.
H COAX/OPT
Lights up according to the cable that you are using.
I MUTING
Lights up when the sound is turned off.
J Message display area
Displays volume, selected input source, audio input signal, etc.
K NIGHT (58)
Lights up in NIGHT mode.
POWER /
ACTIVE STANDBY
continued

Table of Contents

Other manuals for Sony HT-CT500

Related product manuals