EasyManua.ls Logo

Spohn & Burkhardt VCS0 - Joystick VCS0 S1 Installation

Spohn & Burkhardt VCS0
Print Icon
To Next Page IconTo Next Page
To Next Page IconTo Next Page
To Previous Page IconTo Previous Page
To Previous Page IconTo Previous Page
Loading...
67
Spohn + Burkhardt
6. Close the installation space
7. Undertake setup as per chapter 6. "Setup", page 70.
5.1.4. Joystick VCS0 S1…
Note
The following installation instructions apply to the joystickVCS0 S1:
See also section 4.1 "Type codes", page 56. For installation instructions for other variants,
contact
Spohn & Burkhardt GmbH & Co. KG (for contact data see Imprint, page 2).
Note
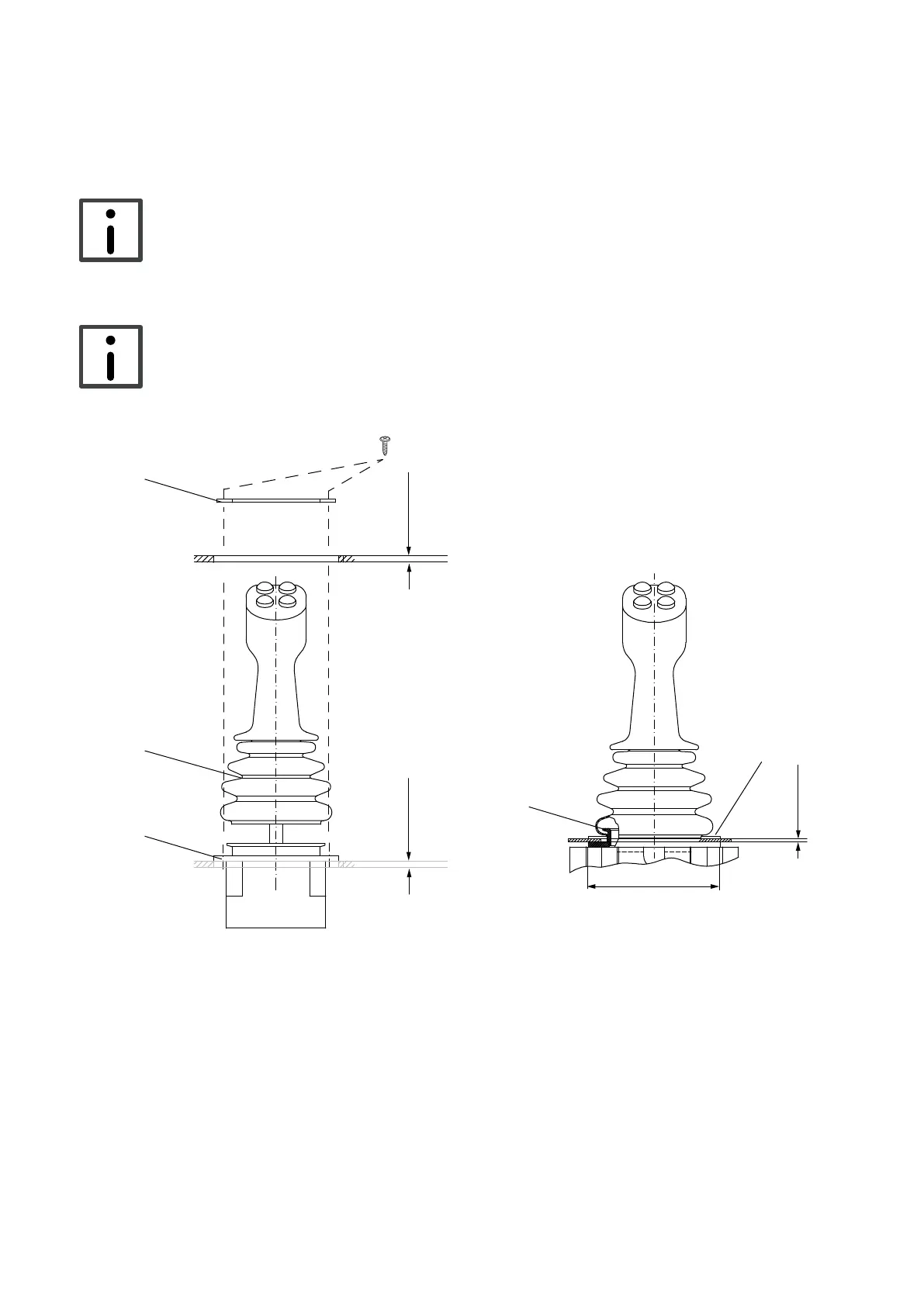
The switch panel is allowed to be maximum 2mm thick.
Figure 10.
6
3
21
21
6
max. 2max. 2
max. 2
96
Joystick VCS0 S1… – installation
Preparatory work
1. Disconnect the system from the supply of electrical power.
2. Prepare the installation space, see Figure 7 "Joystick VCS0 …: dimensions of installation openings (di-
mensions in mm)", page 63.
3. Carefully pull the rubber boot (3) o the boot holder escutcheon (21).
4. Open the installation space

Table of Contents