EasyManua.ls Logo

Still OCV 01 - Identification Plate

Still OCV 01
124 pages
Print Icon
To Next Page IconTo Next Page
To Next Page IconTo Next Page
To Previous Page IconTo Previous Page
To Previous Page IconTo Previous Page
Loading...
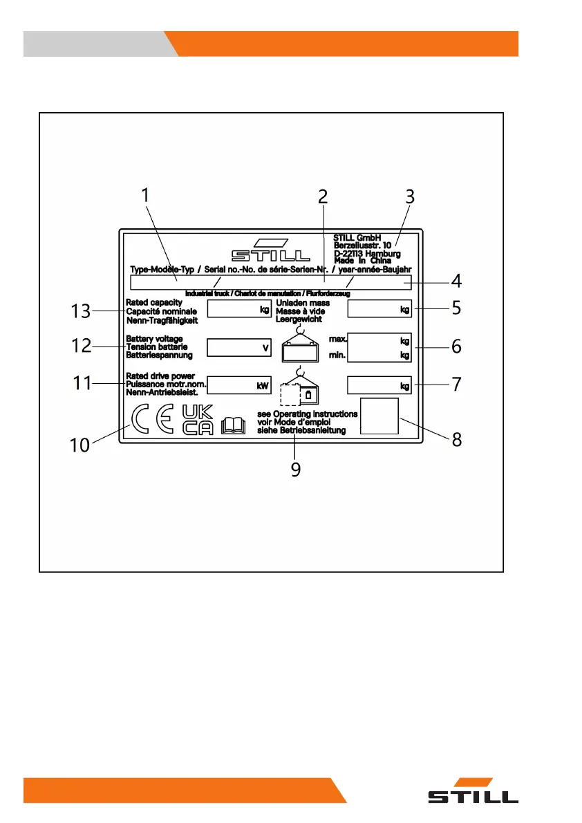
Identification plate
Type
Serial number
Manufacturer
Year of manufacture
Unladen mass in kg
permissible battery weight in kg (for electric
trucks only) Max./Min.
Own mass (self weight) in kg without battery
Data matrix code
Refer to technical data listed in this operat-
ing instructions for more detailed information
1
2
3
4
5
6
7
8
9
Conformity marking:
CE mark
for the markets of the EU, the EU
candidate countries, the EFTA States and
Switzerland
UKCA mark
for the United Kingdom market
EAC mark
for the Eurasian Economic Union
market
Rated drive power in kW
Battery voltage in V
Rated capacity
10
11
12
13
Introduction
1
Your industrial truck
6 5091 801 1525EN-12/2022 - 06

Table of Contents