EasyManua.ls Logo

Taylor-Dunn E-451 - Control System, Motor Speed Control

Taylor-Dunn E-451
116 pages
Print Icon
To Next Page IconTo Next Page
To Next Page IconTo Next Page
To Previous Page IconTo Previous Page
To Previous Page IconTo Previous Page
Loading...
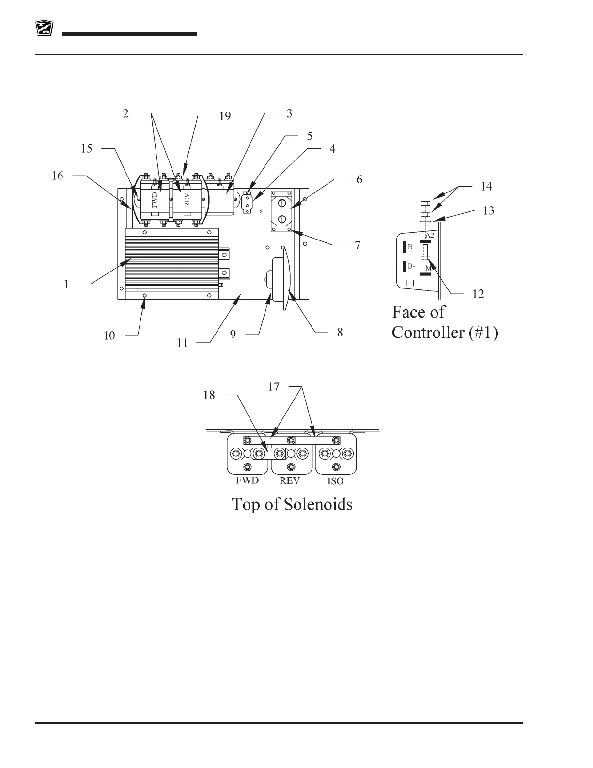
Replacement Parts
Page 100 ME-45X-01
E-451 & E-457
CONTROL SYSTEM, MOTOR SPEED CONTROL

Table of Contents

Related product manuals