EasyManua.ls Logo

tecan ls series - 4. Technical Description

Default Icon
155 pages
Print Icon
To Next Page IconTo Next Page
To Next Page IconTo Next Page
To Previous Page IconTo Previous Page
To Previous Page IconTo Previous Page
Loading...
4. Technical Description
2004-11 Operating Manual for the LS Series Scanner No. 30001798 Rev. No. 1.5 4-1
4. Technical Description
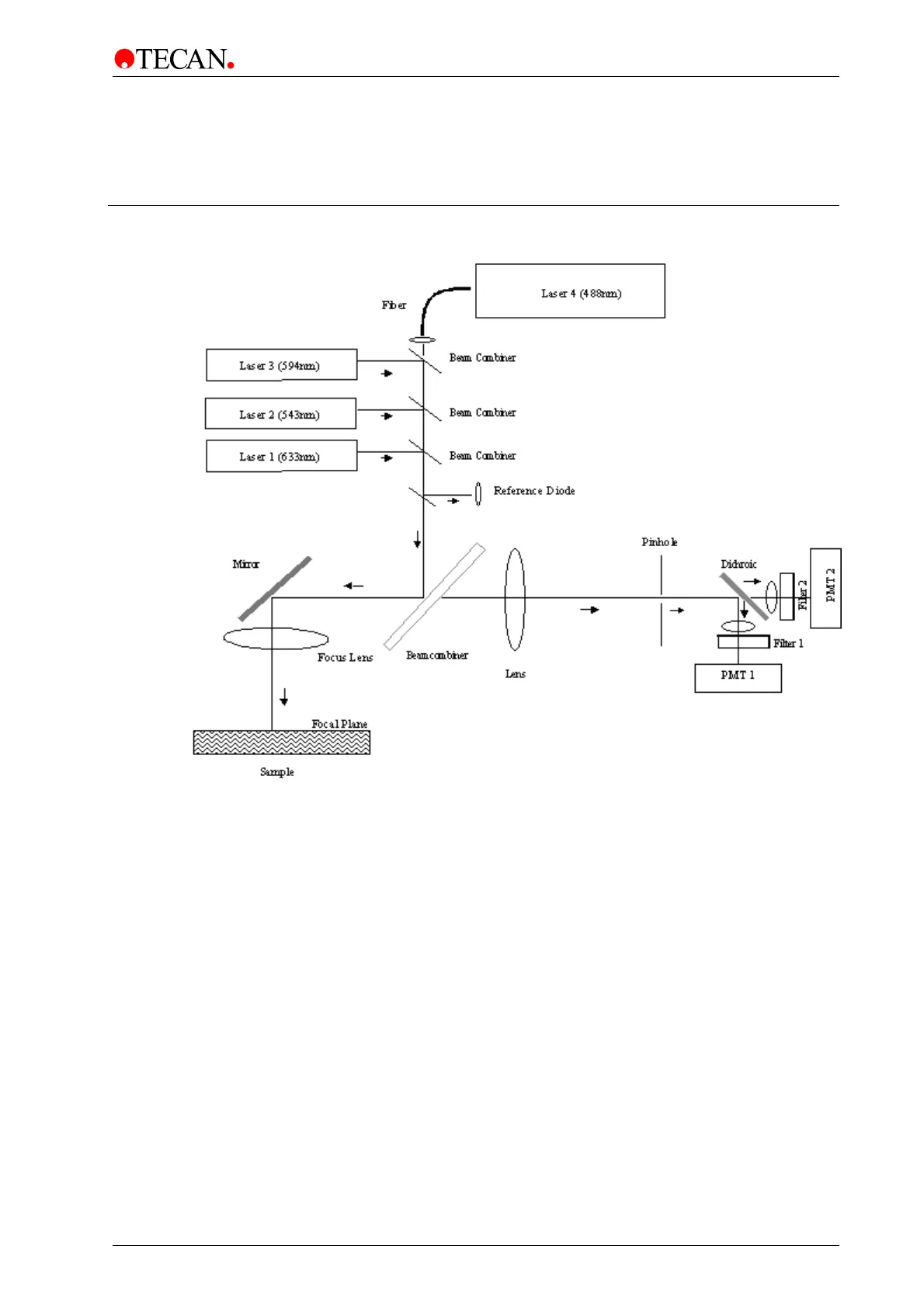
4.1 Optical System
Figure 4.1
For excitation of fluorescence signals up to 4 lasers are installed. The lasers for
633 nm, and 594 nm are Helium Neon lasers; the lasers for 488 nm and 532nm
are solid state lasers. Both of these laser types have excellent beam quality and
stability.
Laser beams are combined with dichroic elements to enter the scanner in a
collinear alignment.

Table of Contents