EasyManua.ls Logo

Technogym Runrace - 3 Principles of Operation; Block Diagram; Cardio Transmitter

Technogym Runrace
184 pages
Print Icon
To Next Page IconTo Next Page
To Next Page IconTo Next Page
To Previous Page IconTo Previous Page
To Previous Page IconTo Previous Page
Loading...
RUNRACE : Service & Maintenance Manual - rev. 2.0
Page 3.1
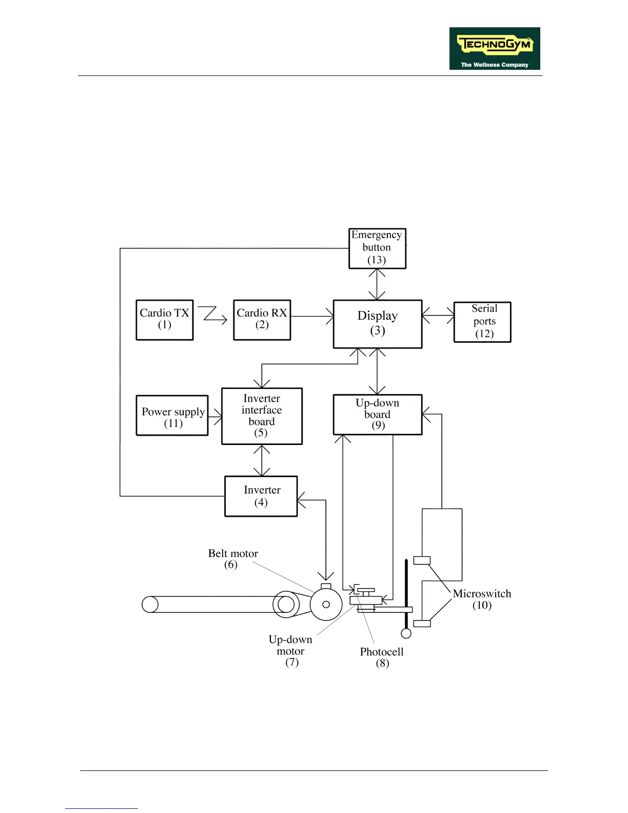
3. PRINCIPLES OF OPERATION
3.1. BLOCK DIAGRAM
The machine block diagram is shown in the figure below:
3.1.1. CARDIO TRANSMITTER
It is worn by the person using the machine, and transmits to the cardio receiver one pulse for every
heart beat that is detected.

Table of Contents

Related product manuals