EasyManua.ls Logo

Terex TW85 - Cab Ventilation Dust Filter; Windshield Washer System

Terex TW85
125 pages
Print Icon
To Next Page IconTo Next Page
To Next Page IconTo Next Page
To Previous Page IconTo Previous Page
To Previous Page IconTo Previous Page
Loading...
Maintenance and care 7
TW85 103
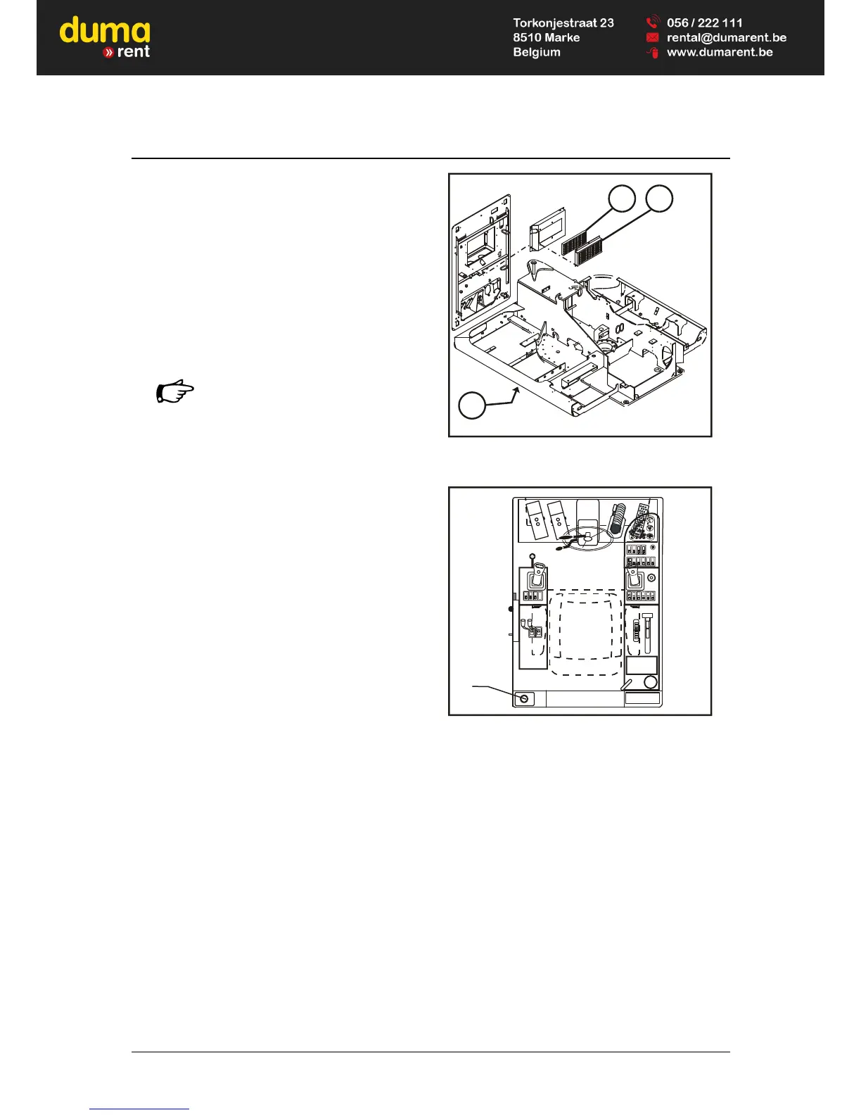
7.9.18 Cab ventilation dust filter
Removing
Turn uppercarriage by 90° crossways to the
undercarriage.
Remove the covering (92/3) from the bottom of
the uppercarriage, under the cab.
Remove the filter holder with filter (92/1).
Replace the filter (92/2).
Installation
Insert new filter into holder.
Observe the mounting position!
Air flow arrows pointing towards
heating.
Fasten filter holder with filter.
Re-mount the cover on the uppercarriage.
7.9.19 Windshield washer system
Topping up the windshield washer tank (93/1)
as required.
Add antifreeze when temperatures are around
or below freezing.
2
HM32-092
010905
1
3
Fig. 92 Cleaning the dust filter for cab ventilation
HM32-093
1
Fig. 93 Windshield washer tank

Table of Contents

Related product manuals