EasyManua.ls Logo

Terex TW85 - Hydraulic Oil Suction Filter

Terex TW85
125 pages
Print Icon
To Next Page IconTo Next Page
To Next Page IconTo Next Page
To Previous Page IconTo Previous Page
To Previous Page IconTo Previous Page
Loading...
Maintenance and care 7
TW85 91
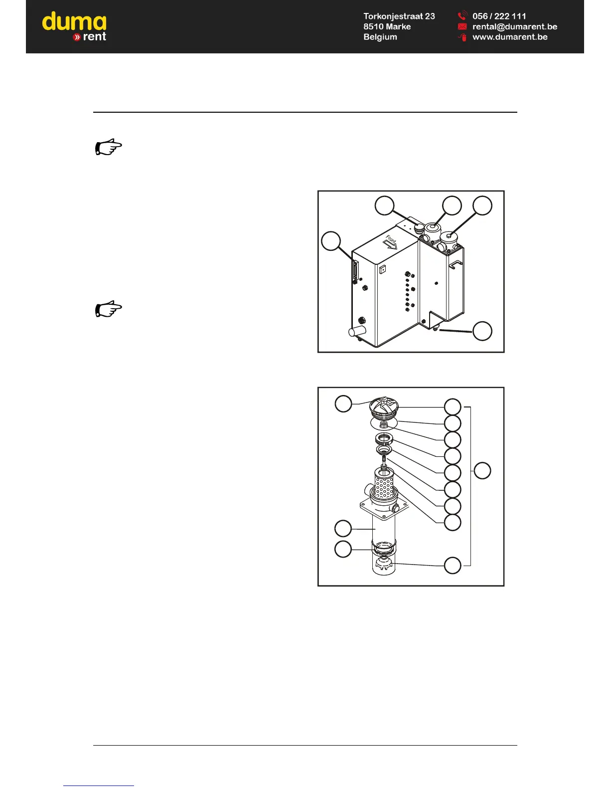
7.9.9 Hydraulic oil suction filter
After a larger repair job on the hydraulic
system, following the test run the filter
cartridge of the suction filter (74/4) must
be replaced as well.
Changing the filter insert
Detach the breather (74/2)
Loosen filter cover (77/1) with auxiliary tool,
valve (77/2) in the locking disk of the paper
insert (77/9) closes.
Remove the assembly (77/10) by turning and
completely removing the filter cover, paying
attention to the O-ring (77/3).
Always place a receptacle for the
collection of waste oil under the working
area when removing the filter insert.
Grasp the assembly by the filter cover (77/1)
and unscrew the valve (77/2).
Remove the filter insert and dispose of
according to regulations.
Clean the filter cover with centre rod (77/8) and
the valve with diesel oil or benzine. While doing
so, pay attention to the retaining plate (77/6)
along with the seals (77/5, 77/7) and the
compression spring (77/4)
Check O-rings (77/3) and seals (77/5, 77/7,
77/11) and replace any defective parts.
Place surface “A” of the filter cover on a solid
base, push a new filter insert onto the centre
rod and fit onto the seal (77/5).
Push the filter insert downward against the
springs and tighten the valve (77/2) by hand.
Push the assembly (77/10) into the housing
(77/12), tighten the filter cover by hand and
ensure that the O-ring (77/3) is in exactly the
right position.
Retighten the filter cover with auxiliary tool.
Screw back in the breather.
Check the tightness of the filter by means of a
test run.
5
3
HM32-074
1
42
Fig. 74 Hydraulic oil tank
1
3
4
5
6
8
7
9
11
12
2
10
A
HM32-077
Fig. 77 Suction filter

Table of Contents

Related product manuals