EasyManua.ls Logo

Terex TW85 - Operational and System Faults

Terex TW85
125 pages
Print Icon
To Next Page IconTo Next Page
To Next Page IconTo Next Page
To Previous Page IconTo Previous Page
To Previous Page IconTo Previous Page
Loading...
7 Maintenance and care
104 TW85
7.9.20 Electrical equipment
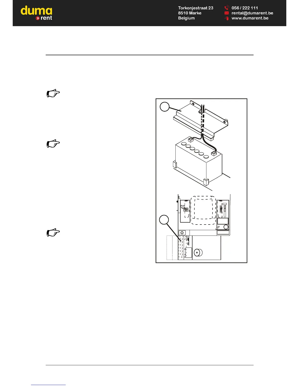
Battery
The battery sits under the cover (94/1) on the
maintenance ascent.
Follow the instructions of the battery
manufacturer when taking the battery
into service for the first time.
The acid level should be approximately 10 mm
above the plate edges. If necessary, top up with
pure distilled water.
Only check the battery with the engine switched
off.
For maintenance-free batteries, this
check is not necessary.
Disconnecting the battery
Fold in maintenance ladder and remove the
cover (94/1).
First disconnect the battery ground cable (-)
and then the positive cable (+).
Lift out the battery.
Installing the battery
Place the battery into the machine.
Connect the positive cable (+), then the battery
ground cable (-).
Ensure that the negative terminal is
attached to the negative pole (-) and the
positive terminal to the positive pole (+).
Install cover (94/1).
In winter, in particular, take care to ensure that the
battery is well charged.
Lighting and warning equipment
Check the function of the lighting equipment.
Check the function of the indicator lamps.
Check the function of the warning equipment.
HM32-094
02-11-07
1
1
Fig. 94 Battery

Table of Contents

Related product manuals