EasyManua.ls Logo

Terex TW85 - Hydraulic Oil Return Filter

Terex TW85
125 pages
Print Icon
To Next Page IconTo Next Page
To Next Page IconTo Next Page
To Previous Page IconTo Previous Page
To Previous Page IconTo Previous Page
Loading...
7 Maintenance and care
90 TW85
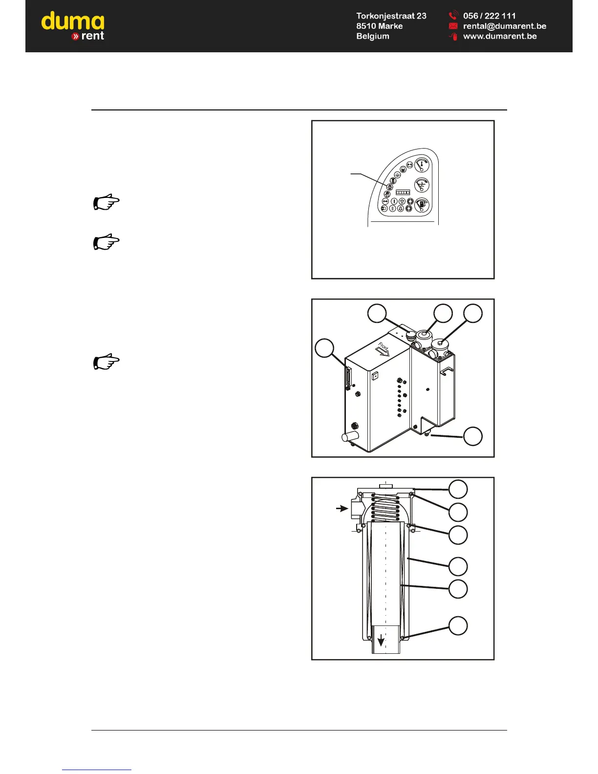
7.9.8 Hydraulic oil return filter
Cartridge maintenance intervals
The filter cartridge must be replaced as soon as
the filter maintenance indicator lamp (75/30) on
the instrument panel lights up during operation.
After a larger repair job, following the test
run the filter cartridge of the return filter
(74/3) must be replaced as well.
Defective hydraulic attachments may
shorten the life of the return filter.
Changing the filter insert
Switch off the engine.
Detach the breather (74/2).
Remove the cover (76/1) of the return filter.
Pull out the filter bowl (76/2) together with the
filter insert (76/3).
Always place a receptacle for the
collection of waste oil under the working
area when removing the filter insert.
Remove the filter insert from the filter bowl by
turning and pulling at the same time.
Clean the filter bowl with petroleum ether or
similar.
Check O-rings (76/4; 76/5, 76/6) and replace
any defective parts.
Insert a new filter element in the filter bowl.
Install the filter bowl in the tank, together with
the new insert.
Apply a light coat of grease to the cover and
tighten the cover by hand.
Screw back in the breather.
Check the tightness of the filter.
HM32-075
0
4/4
,
!
P
30
Fig. 75 Operation
5
3
HM32-074
1
42
Fig. 74 Hydraulic oil tank
1
4
5
2
3
6
HR32-062
Fig. 76 Return filter

Table of Contents

Related product manuals