EasyManua.ls Logo

Triple E COMMANDER - Plumbing Schematics

Default Icon
138 pages
Print Icon
To Next Page IconTo Next Page
To Next Page IconTo Next Page
To Previous Page IconTo Previous Page
To Previous Page IconTo Previous Page
Loading...
12-13
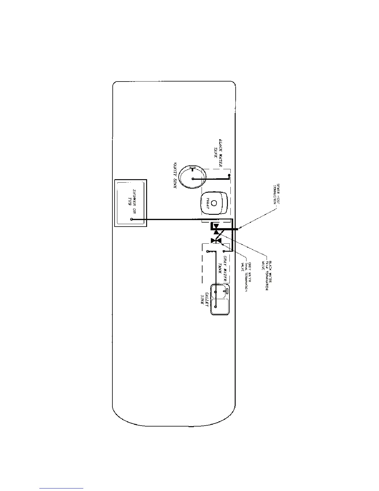
12.4.2 PLUMBING SCHEMATICS
DRAINAGE SYSTEM
COMMANDER / EMBASSY

Table of Contents

Related product manuals