EasyManua.ls Logo

WABECO D2000 - Foundation with Motor and Cover Cap for D3000

WABECO D2000
89 pages
Print Icon
To Next Page IconTo Next Page
To Next Page IconTo Next Page
To Previous Page IconTo Previous Page
To Previous Page IconTo Previous Page
Loading...
46
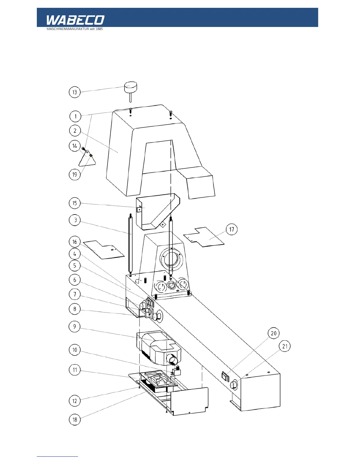
15. Drawings and legends
15.3 Foundation with motor and cover hood for D3000

Table of Contents

Related product manuals