EasyManua.ls Logo

Waters 600 - Page 214

Default Icon
258 pages
Print Icon
To Next Page IconTo Next Page
To Next Page IconTo Next Page
To Previous Page IconTo Previous Page
To Previous Page IconTo Previous Page
Loading...
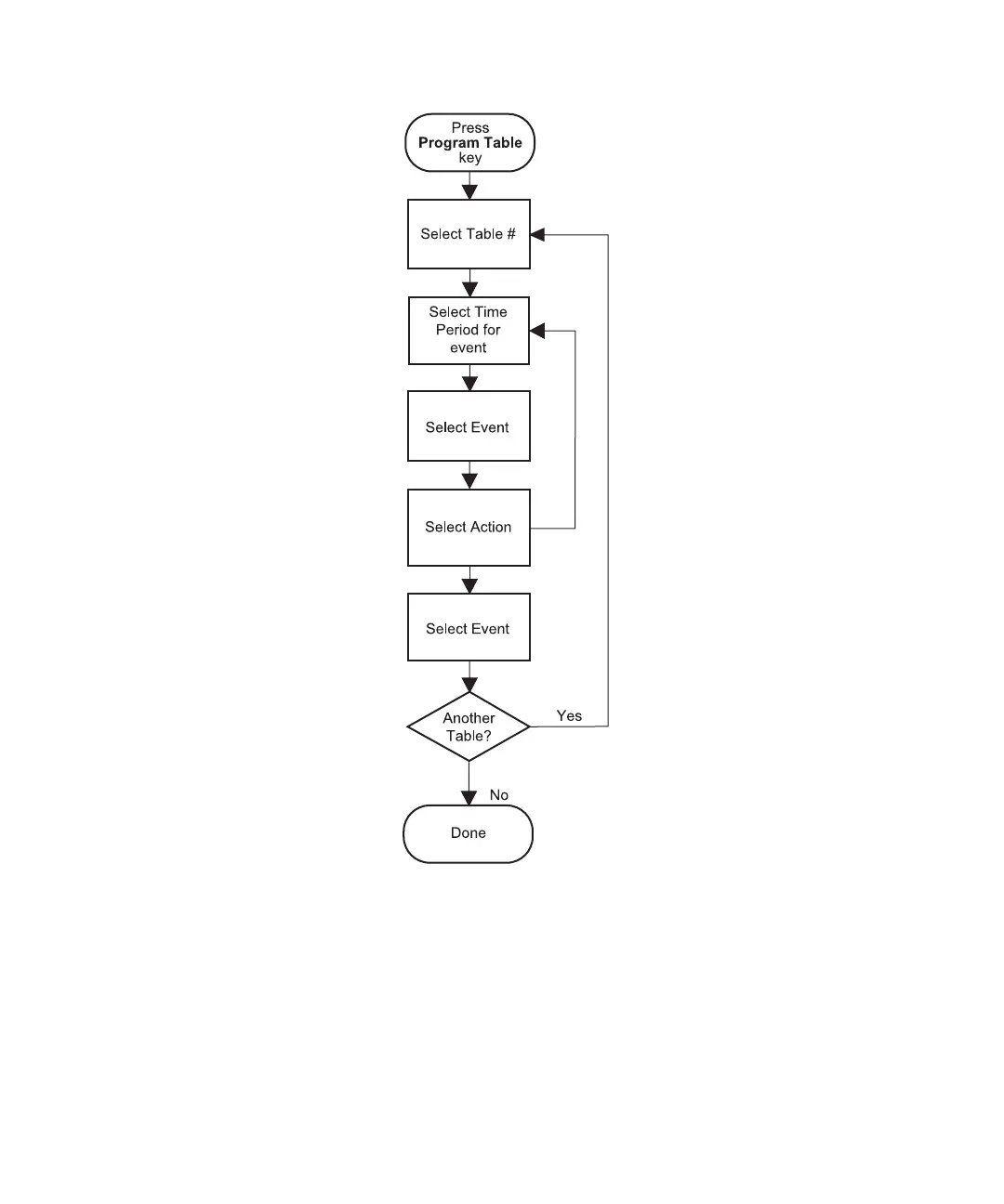
186 Creating Gradient Controller Time-Based Tables
Figure 10-7 Program Event Flowchart

Table of Contents

Related product manuals