EasyManua.ls Logo

Whirlpool CS1250 - Reheat Modes

Whirlpool CS1250
88 pages
Print Icon
To Next Page IconTo Next Page
To Next Page IconTo Next Page
To Previous Page IconTo Previous Page
To Previous Page IconTo Previous Page
Loading...
22
操作方法說明
翻熱中式包點模式
此程式會以已調節的最佳溫度去翻熱包點,過程中加入蒸氣,使效果像剛出爐的新鮮包點。每次使用前,請
確保水箱已加滿水。
建議烹調時間:一般冷藏麵包所需翻熱時間大約是 10-15 分鐘;室溫麵包所需翻熱時間大約是 8-13 分鐘。
如果有餡的麵包則視乎需要增加烹調時間。此建議烹調時間僅供參考。客人需因應麵包份量、大小、種類
個人喜好等自行調整翻熱時間。
例如:烹調從雪櫃取出的麵包,設置烹調時間為 25 分鐘。
操作步驟:
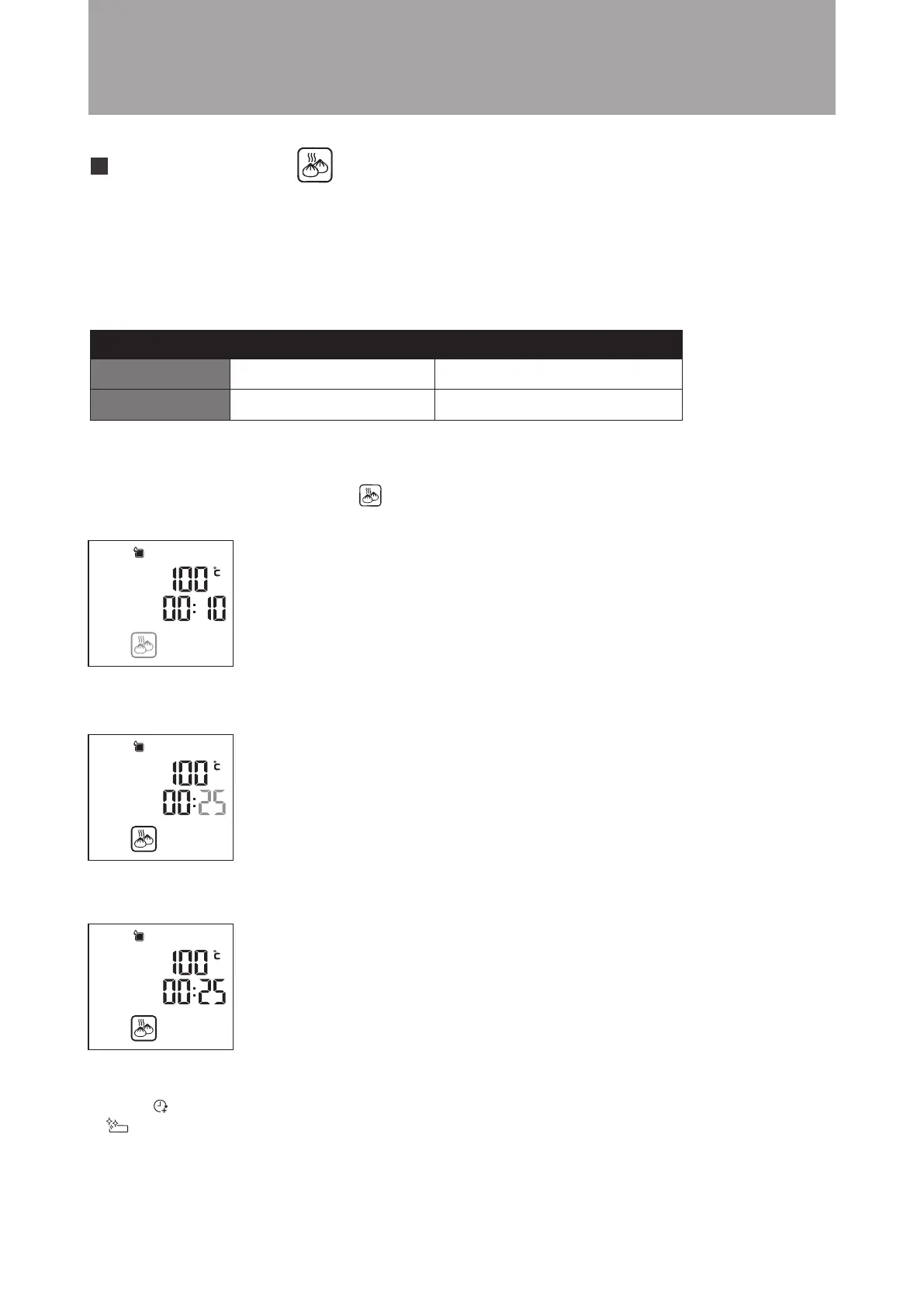
1. 在待機狀態下,順時針旋轉旋鈕至 翻熱中式包點模式圖示閃爍,按旋鈕確認功能。(如下圖) 然後
畫面會自動跳至分鐘選項。
2. 轉動旋鈕直至顯示分鐘轉至 25,按旋鈕確認。( 如下圖 )
3. 設置完成,開始烹調。( 如下圖 )
溫度
開機預設
設定範圍
100°C
不可調較
10 分鐘
5 分鐘 - 59 分鐘
時間
烹調結束時,顯示屏會顯END並發出聲效,提示操作已完成。同時
顯示屏上 加烹調時間圖示(在烹調結束後,客人可按需要追加烹調時間)
清除接水盤提示圖示(提示客人有可能需要清除接水盤的水)會閃爍。

Table of Contents

Related product manuals