EasyManua.ls Logo

Whirlpool CS1250 - Defrost Mode

Whirlpool CS1250
88 pages
Print Icon
To Next Page IconTo Next Page
To Next Page IconTo Next Page
To Previous Page IconTo Previous Page
To Previous Page IconTo Previous Page
Loading...
26
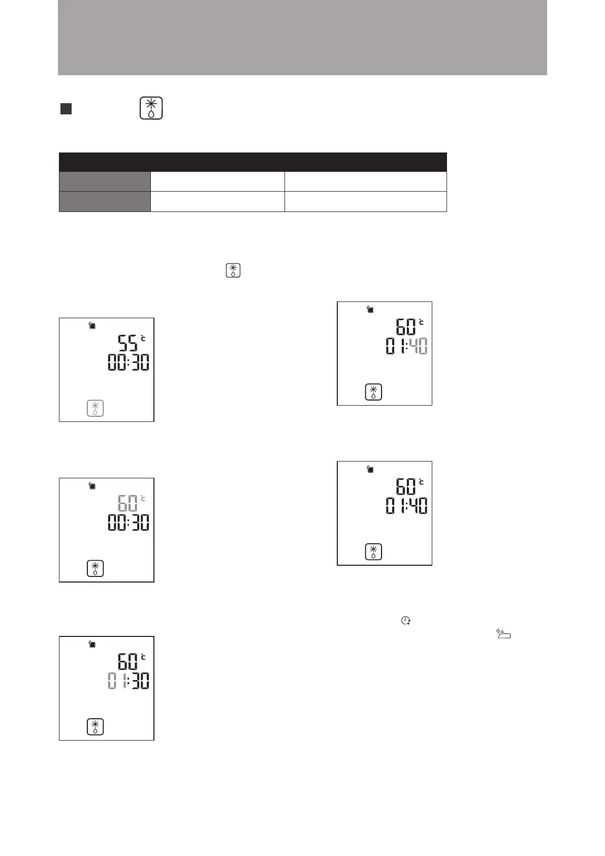
操作方法說明
例如:設置烹調時間為 1 小時 40 分鐘,溫度為60°C。
操作步驟:
1. 待機狀態順時針旋轉旋鈕至 解凍模式
圖示閃爍,按旋鈕確認功能。( 如下圖 ) 然後畫面
會自動跳至溫項。
4. 轉動旋鈕直到顯示分鐘轉至 40,按旋鈕
確認。( 如下圖 )
解凍模式
以蒸氣去解凍冷藏或冷凍食物。每次使用前,請確保水箱已加滿水。
溫度
開機預設
設定範圍
55°C
50°C - 60°C
30 分鐘
5 分鐘 - 6 小時 59 分鐘
時間
2. 轉動旋鈕直到顯示溫度轉至60°C,按旋鈕確認。
( 如下圖 ) 然後畫面會自動跳至小時選項。
3. 轉動旋鈕直至顯示小時轉至01,按旋鈕確認。
( 如下圖 ) 然後畫面會自動跳至分鐘選項。
5. 設置完成,開始烹調。( 如下圖 )
烹調結束時,顯示屏會顯示“END”並發出聲效,
提示操作已完成。
同時顯示屏上 增加烹調時間圖示(在烹調結束
後,客人可按需要追加烹調時間)和 清除接水
盤提示圖示(提示客人有可能需要清除接水盤的水)
會閃爍。

Table of Contents

Related product manuals