EasyManua.ls Logo

Xerox Phaser 3124 - Page 115

Xerox Phaser 3124
166 pages
To Next Page IconTo Next Page
To Next Page IconTo Next Page
To Previous Page IconTo Previous Page
To Previous Page IconTo Previous Page
Loading...
General Procedures and Information
PHASER 3124 / PHASER 3125 09/06 6-21
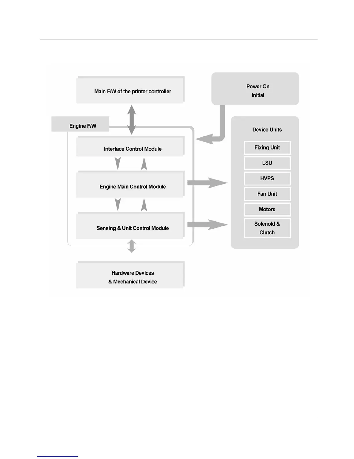
Architecture of Engine Control Firmware
Figure 7 Architecture Diagram

Table of Contents

Other manuals for Xerox Phaser 3124

Related product manuals