EasyManua.ls Logo

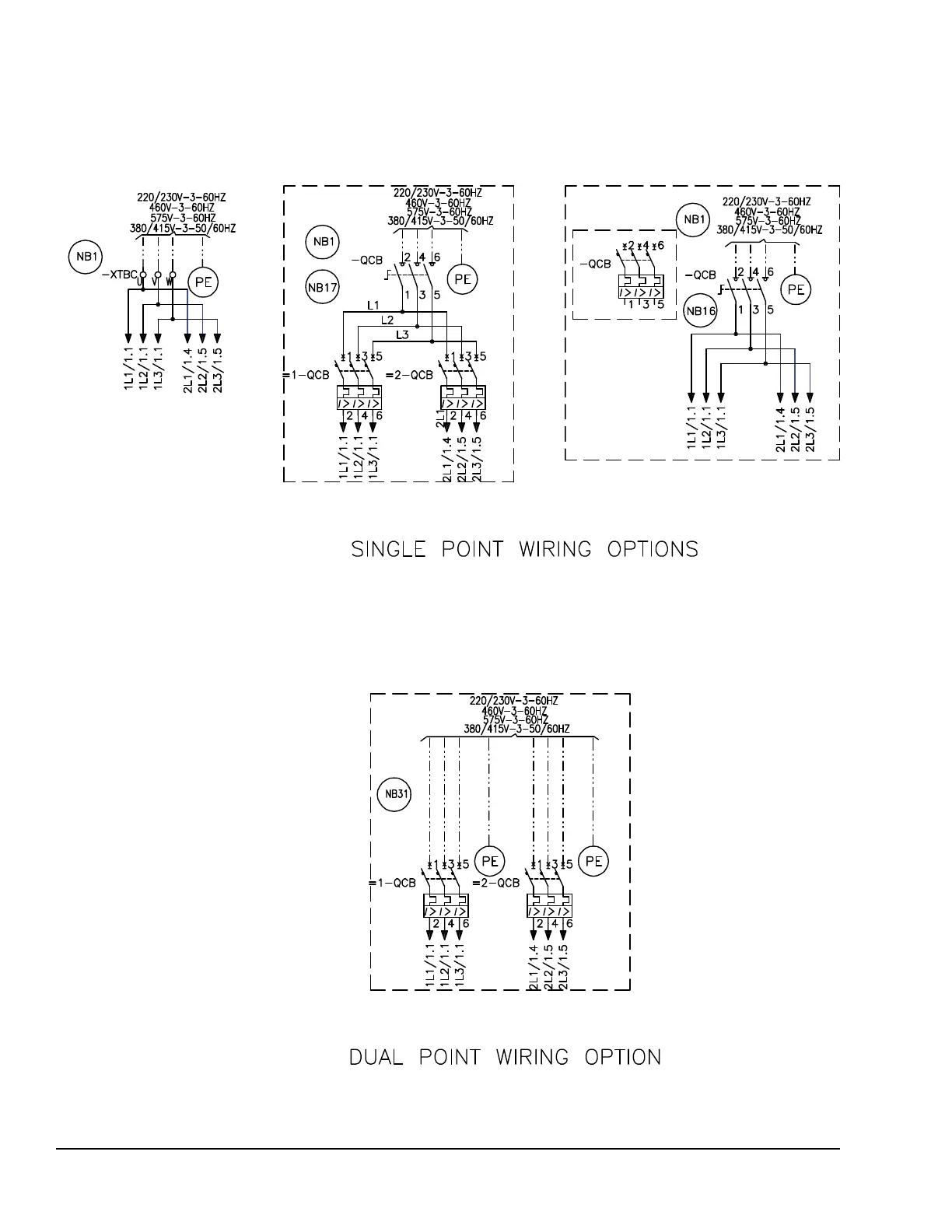
York YLUA0078 - FIGURE 13 - SINGLE POINT AND DUAL POINT WIRING

York YLUA0078
164 pages
Print Icon
To Next Page IconTo Next Page
To Next Page IconTo Next Page
To Previous Page IconTo Previous Page
To Previous Page IconTo Previous Page
Loading...
JOHNSON CONTROLS
74
FORM 150.73-NM1
ISSUE DATE: 09/04/2020
SECTION 5 – TECHNICAL DATA
035-21583-116_rev -
FIGURE 13 - SINGLE POINT AND DUAL POINT WIRING

Table of Contents

Related product manuals