EasyManua.ls Logo

Zanotti Zero Series - Page 31

Zanotti Zero Series
78 pages
Print Icon
To Next Page IconTo Next Page
To Next Page IconTo Next Page
To Previous Page IconTo Previous Page
To Previous Page IconTo Previous Page
Loading...
Refrigeration unit
Series Zero Direct-Drive
Z200 | Z250 | Z350 | Z380
Z380 Multi
INSTALLATION MANUAL
rev.01
31
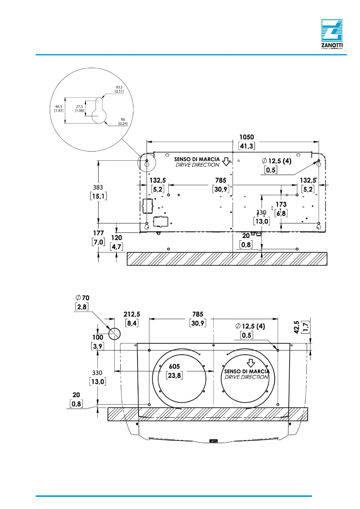
Figure 36 - View from the top of the condenser unit
Figure 37 - Top View from the evaporator
Evaporator fastening screws: TE M8x120 (Q.ty 4).

Table of Contents

Related product manuals