EasyManua.ls Logo

AERMEC SWP200 - Diagrama General; 12 Funcionamiento Automático

AERMEC SWP200
Print Icon
To Next Page IconTo Next Page
To Next Page IconTo Next Page
To Previous Page IconTo Previous Page
To Previous Page IconTo Previous Page
Loading...
142
SWP_5287500_00
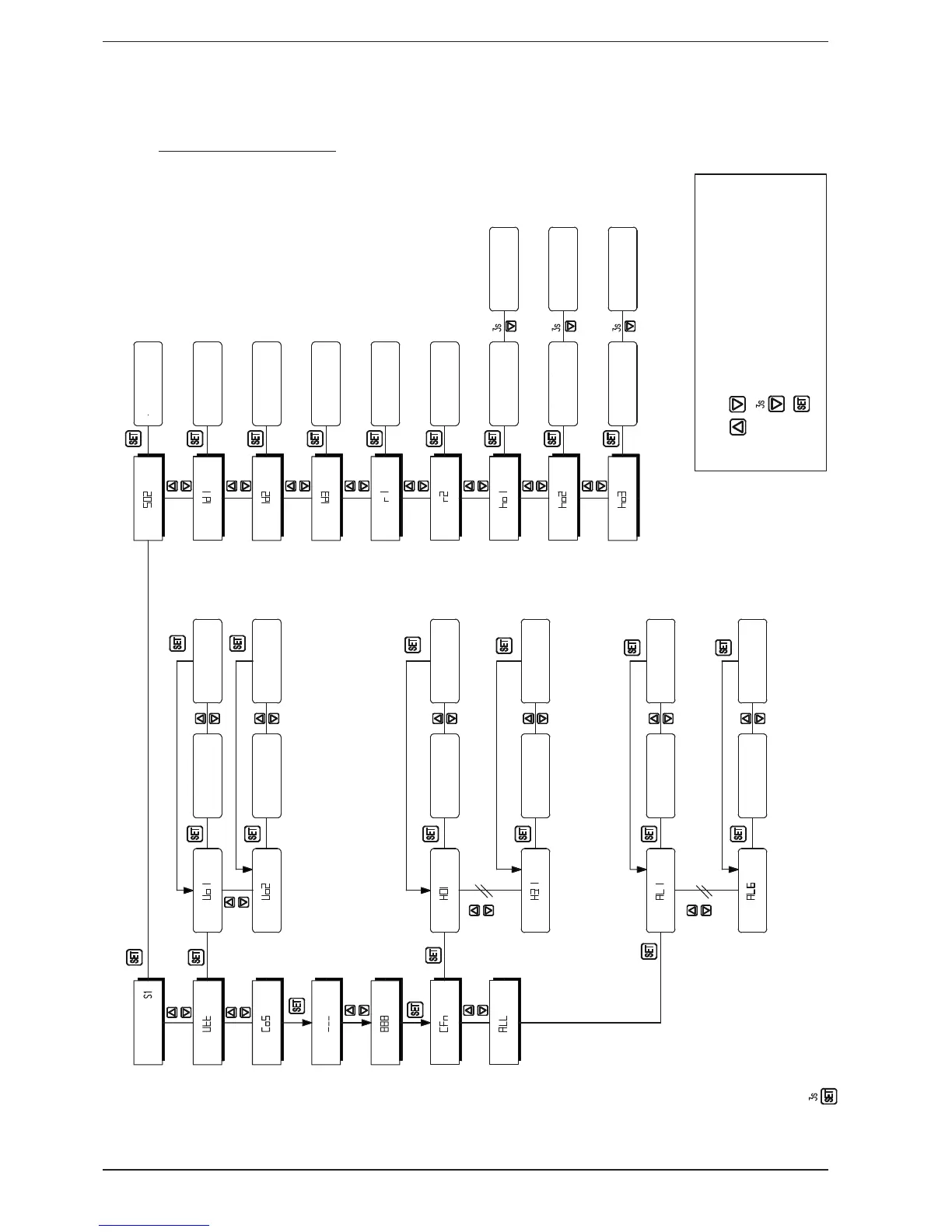
12. FUNCIONAMIENTO
AUTOMÁTICO
12.1. DIAGRAMA GENERAL
TEMPERATURA
Introducir contraseña
Confirmar contraseña
Visualización
Valor Uo1
Visualización
Valor Uo2
Variación
Valor Uo1
Variación
Valor Uo2
Variación de
Temperatura S2
Variación de
Estado ID1
Variación de
Estado ID2
Variación de
Estado ID3
Variación de
Estado N01
Variación de
Estado N02
Variación de
horas BdC
Variación de
horas Resistencia
Variació de horas
Totales
Puesta a cero de
horas Resistencia
Puesta a cero
horas Totales
Puesta a cero de
horas BdC
Visualización
Valor H01
Visualización
Valor H22
Variación
Valor H01
Variación
Valor H22
Visualización
Valor AL1
Visualización
Valor AL6
Variación
Valor AL1
Variación
Valor AL6
LEYENDA
Botones UP - Down presionados instantáneamente
Botón Down presionado durante 3 seg.
Botón SET presionado y soltado instantáneamente
el botón Set presionado durante 3 seg. permite volver al comienzo (visualización de S1)

Table of Contents

Related product manuals