EasyManua.ls Logo

AERMEC SWP200 - Diagramme Branche Utilisateur (Utt); Tableau Paramètres Branche Utilisateurs (Utt)

AERMEC SWP200
Print Icon
To Next Page IconTo Next Page
To Next Page IconTo Next Page
To Previous Page IconTo Previous Page
To Previous Page IconTo Previous Page
Loading...
83
SWP_5287500_00
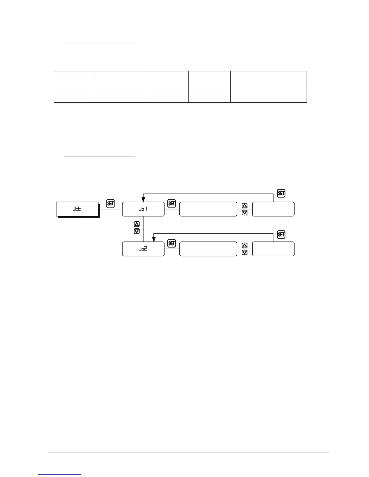
12.2. TABLEAU PARAMÈTRES BRANCHE
UTILISATEURS (UTT)
PARAMÈTRE DÉFAUT LIMITES UNITÉ DESCRIPTION
U01 60,0 H02-H01 °C Set point Eau Ballon
(Fonctionnement Automatique)
U02 60,0 H02-H27 °C Set point Eau Ballon
(Fonctionnement manuel)
12.3. DIAGRAMME BRANCHE
UTILISATEUR (UTT)
Set point Eau Ballon
(Fonctionnement Automatique)
Set point Eau Ballon
(Fonctionnement manuel)
Variation
Valeur Uo1
Variation
Valeur Uo2

Table of Contents

Related product manuals