EasyManua.ls Logo

AERMEC SWP200 - Automatic Operation; General Diagram

AERMEC SWP200
Print Icon
To Next Page IconTo Next Page
To Next Page IconTo Next Page
To Previous Page IconTo Previous Page
To Previous Page IconTo Previous Page
Loading...
52
SWP_5287500_00
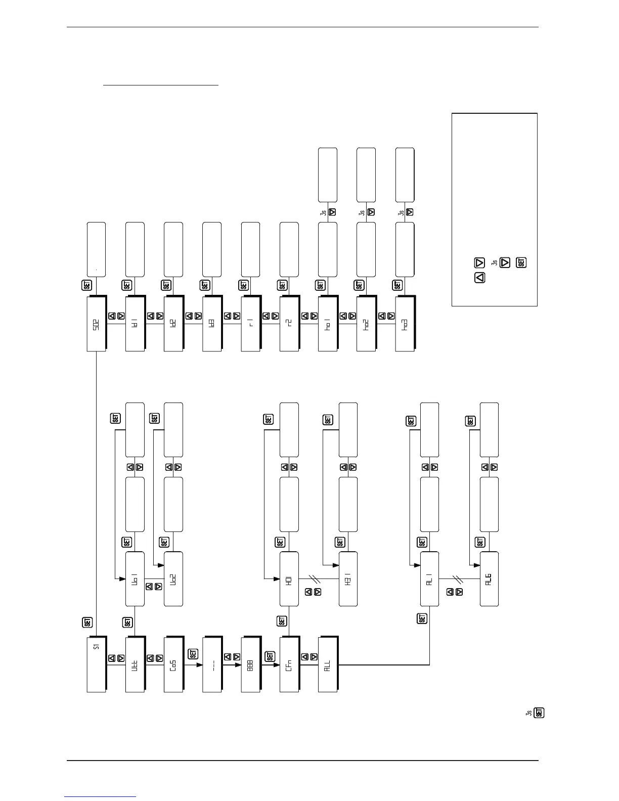
12. AUTOMATIC OPERATION
12.1. GENERAL DIAGRAM
Temperature
PASSWORD ENTRY
PASSWORD
CONFIRMATION
Uo1 value
displayed
Uo2 value
displayed
Uo1 value
variation
Uo2 value
variation
S2 temperature
variation
ID1 status
variation
ID2 status
variation
ID3 status
variation
N01 status
variation
N02 status
variation
HP hours variation
Heating element
hours variation
Total hours
variation
Heating element
hours reset
Total hours reset
HP hours reset
H01 value
displayed
H22 value
displayed
H01 value
variation
H22 value
variation
AL1 value
displayed
AL6 value
displayed
AL1 value
variation
AL6 value
variation
KEY
UP-DOWN buttons pressed instantly
Down button pressed for 3 sec.
SET button pressed and released instantly
the Set button can be pressed for 3 sec. to return to the start (S1 display)

Table of Contents

Related product manuals