EasyManua.ls Logo

AERMEC SWP200 - Diagrama Rama Usuario (Utt); Tabla Parámetros Rama Usuario (Utt)

AERMEC SWP200
Print Icon
To Next Page IconTo Next Page
To Next Page IconTo Next Page
To Previous Page IconTo Previous Page
To Previous Page IconTo Previous Page
Loading...
143
SWP_5287500_00
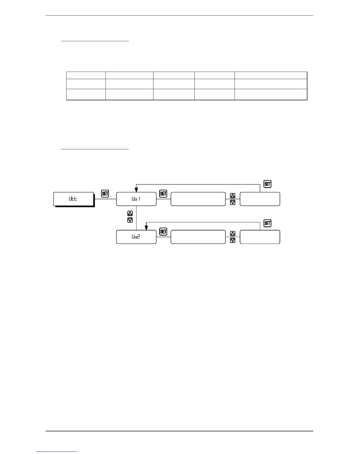
12.2. TABLA PARÁMETROS RAMA
USUARIO (UTT)
PARÁMETRO DEFAULT LÍMITES UNIDAD DESCRIPCIÓN
U01 60,0 H02-H01 °C Set point Agua Boiler
(Funcionamiento Automático)
U02 60,0 H02-H27 °C Set point Agua Boiler
(Funcionamiento manual)
12.3. DIAGRAMA RAMA USUARIO
(UTT)
Set point agua boiler
(funcionamiento automático)
Set point agua boiler
(funcionamiento manual)
Variación
Valor Uo1
Variación
Valor Uo2

Table of Contents

Related product manuals