EasyManua.ls Logo

Amano MX-300 - Page 86

Amano MX-300
90 pages
Print Icon
To Next Page IconTo Next Page
To Next Page IconTo Next Page
To Previous Page IconTo Previous Page
To Previous Page IconTo Previous Page
Loading...
80
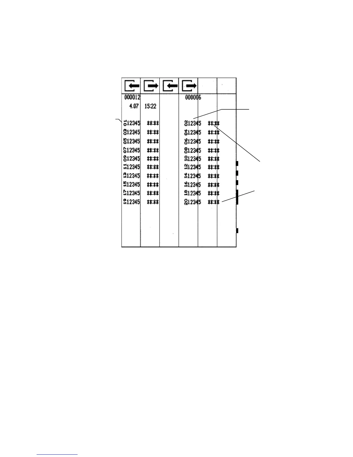
Second Page of Print Out
(Time Signal Schedules)
Time of Schedule
Day of week
Step Number
Last Schedule

Table of Contents

Related product manuals