EasyManua.ls Logo

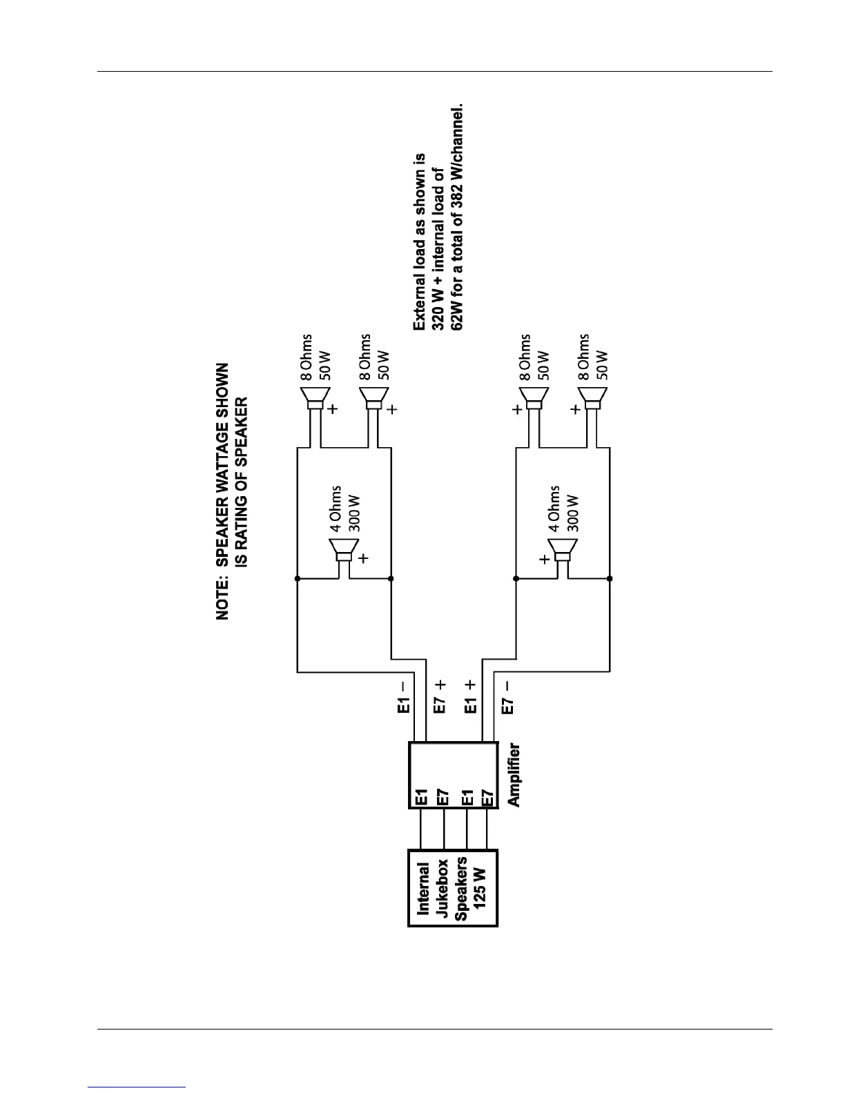
AMI NiteHAWK - Figure 3-7 - External Speakers with Jukebox Speakers Connected to E1 - E7 Rowe Floor Model

AMI NiteHAWK
102 pages
Print Icon
To Next Page IconTo Next Page
To Next Page IconTo Next Page
To Previous Page IconTo Previous Page
To Previous Page IconTo Previous Page
Loading...
NiteHAWK Internet Jukebox Sound System Setup
22022613 Rev B 3-19
Figure 3–7 – External Speakers with Jukebox Speakers Connected to E1 – E7 Rowe Floor Model

Table of Contents

Related product manuals