EasyManua.ls Logo

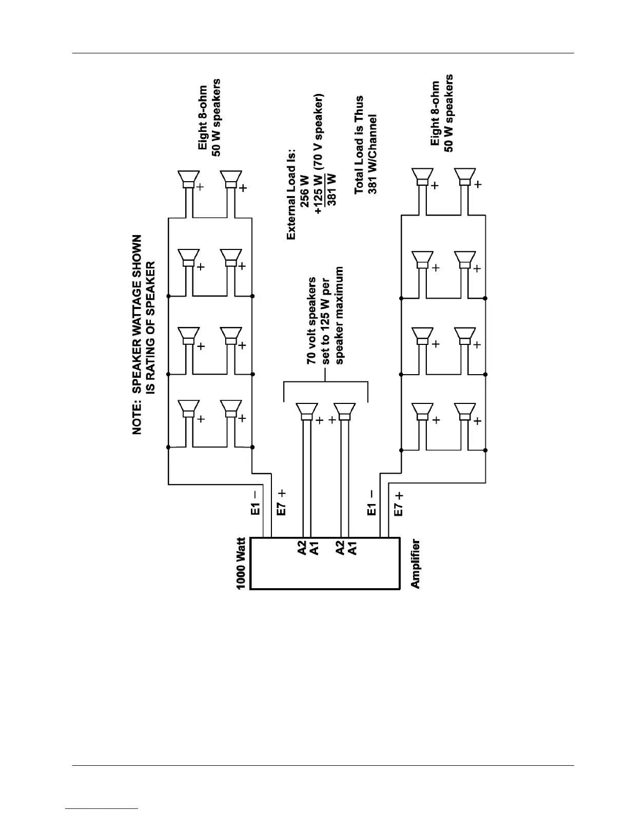
AMI NiteHAWK - Figure 3-11 - Low Voltage and 70 V Speaker Connection to E1 - E7 Rowe Wall-Mounted Model

AMI NiteHAWK
102 pages
Print Icon
To Next Page IconTo Next Page
To Next Page IconTo Next Page
To Previous Page IconTo Previous Page
To Previous Page IconTo Previous Page
Loading...
NiteHAWK Internet Jukebox Sound System Setup
22022613 Rev B 3-23
Figure 3–11 – Low Voltage and 70V Speaker Connection to E1 – E7 Rowe Wall-Mounted Model

Table of Contents

Related product manuals