EasyManua.ls Logo

Ask Proxima E2465 - Side Control; Indicators

Ask Proxima E2465
72 pages
Print Icon
To Next Page IconTo Next Page
To Next Page IconTo Next Page
To Previous Page IconTo Previous Page
To Previous Page IconTo Previous Page
Loading...
9
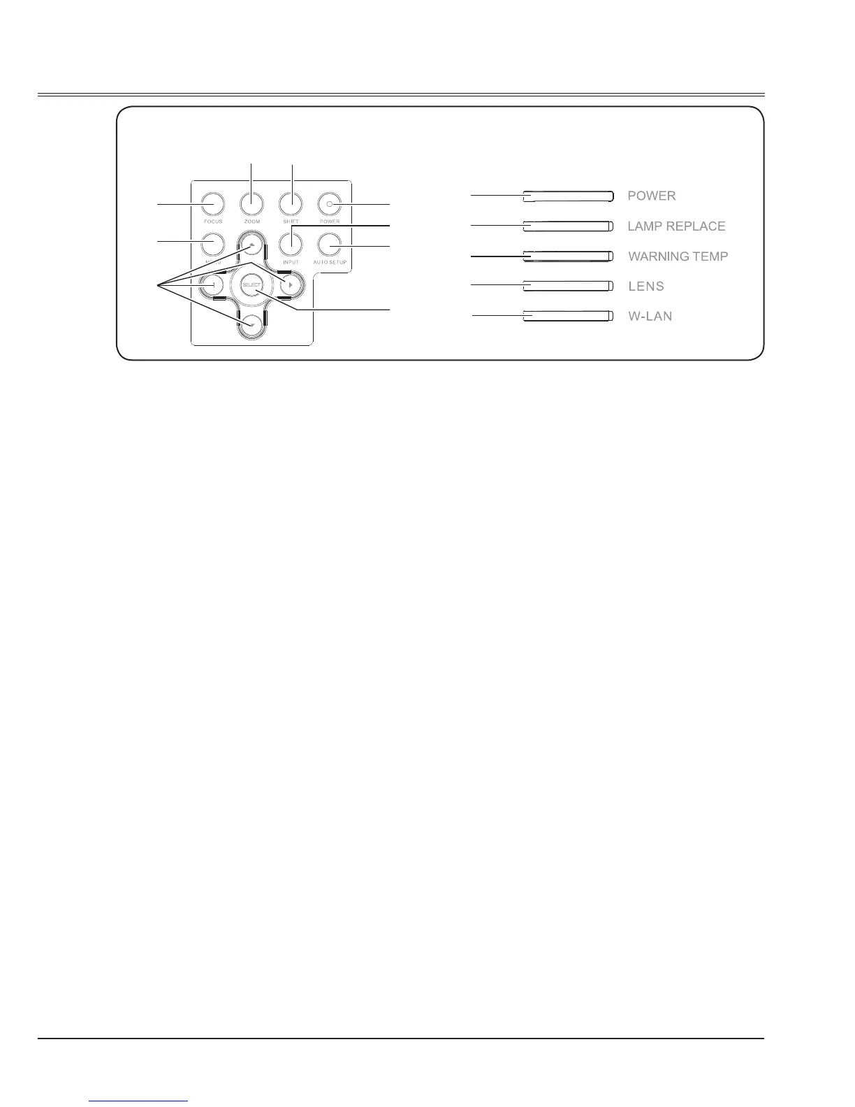
Part names and functions
Side control Indicators
FOCUS button
To adjust the focus.
MENU button
To open or close the screen menu.
Point ▲▼◄► buttons
- Select an item or adjust the value in the
On-Screen Menu.
- Pan the image in the D. Zoom +/- mode.
SELECT button
- Execute the selected item.
- Expand or compress the image in the
Digital Zoom Mode.
AUTO SETUP button
To perform various settings congured
automatically, including the input source
search, auto PC adjust and auto focus
function.
INPUT button
To select an input source.
POWER button
To turn on/off the projector.
SHIFT button
To enter the lens shift mode.
ZOOM button
To zoom in/out images.
POWER indicator
- Lights red when the projector is in stand-
by mode.
- Lights green during operations.
- Flashes green in the Power management
mode.
- Flashes red during fans cooling.
LAMP REPLACE indicator
It turns orange when the life of the
projection lamp draws to an end.
WARNING TEMP indicator
It ashes red when the internal projector
temperature is too high.
LENS indicator
Lights blue when the projector lens is
moving or zooming.
W-LAN indicator
Flashes green while W-LAN is available.

Related product manuals